奉贤夏季家电维修拆装店 【便民】夏季家电维修服务走进奉贤社区,维修家电请认准“正规军”!
【便民】夏季家电维修服务走进奉贤社区,维修家电请认准“正规军”!
2019年夏季家电维修服务进社区宣传活动·奉贤分会场
便 民
服 务
每年盛夏期间是各类制冷电器使用的高峰期,市民家电维修需求难以得到及时、有效的保障,为确保广大市民安然度夏,由上海市商务委牵头开展以“高峰时节家电维修服务市场保障暨夏季家电维修防范‘李鬼’” 为主题的主会场宣传活动,各区商务委纷纷响应号召开展分会场活动,向广大市民宣传家电维修的“正规军”,防范家电维修“李鬼” 。
7月11日上午,奉贤区经委联合南桥镇人民政府在江海花园社区活动中心小广场上开展了“2019年夏季家电维修服务进社区宣传活动奉贤分会场”活动。 现场向市民朋友们宣传了本市家电维修的“主渠道”:
找“一台三会”
●上海家电服务热线平台
●上海交电家电商业行业协会
●上海家用电器行业协会
●上海电子产品维修服务行业协会
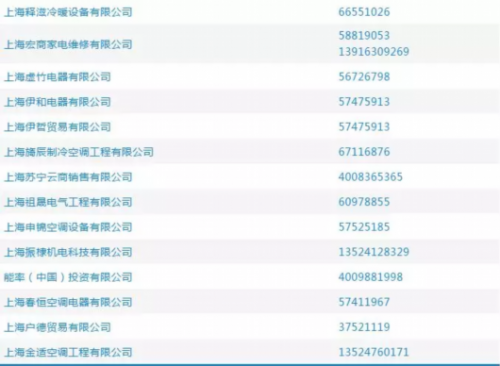
同时发放了宣传手册,包含了本市162个品牌家电生产厂商售后维修服务电话以及本市各区507家正规家电维修服务企业名单 ,消费者可以通过12345市民服务热线和市商务委官网等相关信息渠道进行查询使用。
活动现场,我们还邀请了已扎根奉贤、从事家电维修服务20多年的“户德利”专业维修人员,现场为小区居民维修小家电,并宣传家用电器使用的有关小知识。 很多叔叔阿姨直接从家里拿来了不能正常使用的小家电,在活动的一个半小时内,共修理了20多件小家电,受到小区居民的热烈欢迎。
目前,全市已有16000余名持有统一上门服务证的家电维修服务人员,本次向社会推荐的正规服务企业都必须明示收费标准,不得随意增加收取费用 ,全力为市民提供规范的维修服务。请广大市民朋友们一定要找到维修“正规军”,防范“李鬼”。
清单
品牌家电维修售后服务信息
1
厨卫电器
2
空调
3
冰箱
4
洗衣机
5
彩电
6
小家电
7
水家电
上海市家电维修服务行业
推荐企业名单(奉贤)
来源:奉贤企业直通车
编辑:小嶋
往期精彩
夏季家电维修走进奉贤社区 维修家电认准“正规军”
便民服务
每年盛夏期间是各类制冷电器使用的高峰期,市民家电维修需求难以得到及时、有效的保障,为确保广大市民安然度夏,由上海市商务委牵头开展以“高峰时节家电维修服务市场保障暨夏季家电维修防范‘李鬼’”为主题的主会场宣传活动,各区商务委纷纷响应号召开展分会场活动,向广大市民宣传家电维修的“正规军”,防范家电维修“李鬼”。
7月11日上午,奉贤区经委联合南桥镇人民政府在江海花园社区活动中心小广场上开展了“2019年夏季家电维修服务进社区宣传活动奉贤分会场”活动。现场向市民朋友们宣传了本市家电维修的“主渠道”:
找“一台三会”
上海家电服务热线平台
上海交电家电商业行业协会
上海家用电器行业协会
上海电子产品维修服务行业协会
同时发放了宣传手册,包含了本市162个品牌家电生产厂商售后维修服务电话以及本市各区507家正规家电维修服务企业名单,消费者可以通过12345市民服务热线和市商务委官网等相关信息渠道进行查询使用。
活动现场,我们还邀请了已扎根奉贤、从事家电维修服务20多年的“户德利”专业维修人员,现场为小区居民维修小家电,并宣传家用电器使用的有关小知识。很多叔叔阿姨直接从家里拿来了不能正常使用的小家电,在活动的一个半小时内,共修理了20多件小家电,受到小区居民的热烈欢迎。
目前,全市已有16000余名持有统一上门服务证的家电维修服务人员,本次向社会推荐的正规服务企业都必须明示收费标准,不得随意增加收取费用,全力为市民提供规范的维修服务。请广大市民朋友们一定要找到维修“正规军”,防范“李鬼”。
清单
品牌家电维修售后服务信息
1
厨卫电器
2
空调
3
冰箱
4
洗衣机
5
彩电
6
小家电
7
水家电
上海市家电维修服务行业
推荐企业名单(奉贤)
相关问答
上海 奉贤区 热水器 维修 公司找哪家好?-设计本有问必答上海杰仕电器维修有限公司作为当地口碑相当不错的家用电器维修公司,现在在上海当地的电器维修行业内已经颇具自己的影响力,不仅拥有了合理的价格、...
日本品番:ES-Lv50电动胡须刀 上海哪里有 维修 ?以下维修部都可以维修。1。上海茸岳电器有限公司主营:脱毛器剃须刀电吹风空气净化器加湿器电熨斗维修地址:松江区人民北路民乐小区17号。2。青浦慧科...
上海美的电压力锅 维修 网点在哪里?_住范儿家装官网上海美的的维修网点很多,看你家在哪条路上,打售后电话报你家的位置就能查到最近的维修点了以下是美的电压力锅上海的服务点,希望可以帮到您:青浦...
上海 奉贤 区焱坤电器普工待遇?介缴三险一金,福利待遇一般。介缴三险一金,福利待遇一般。
上海前田燃具 家电 有限公司介绍?简介:上海前田燃具家电有限公司成立于1997年09月24日,主要经营范围为加工电饭煲、饮水机、电风扇,销售燃气用具、厨房设备、五金交电、汽配、建筑材料、百货、...
上海康佳液晶电视 维修 中心点在哪里有-设计本有问必答维修地址:上海市杨浦区邯郸路159号上豪大厦3楼A座2、上海市奉贤区特约维修站。维修地...康佳家用电子产品上海市浦东区特约维修站维修地址:上海...
美的电热安全压力锅 维修 叉头应该到哪里_住范儿家装官网推荐:A郑州美的空调售后地址:郑汴路南熊尔河东16栋1单元26号B美的电器特约维修中心地址:近郊嵩山大道C美的生活电器维修中心地址:河南...
二手房交易详细流程有什么?如何购买二手房?-幸福里问答幸福里为您提供"二手房交易详细流程有什么?如何购买二手房?"的专业解答,收集各类观点,以更多视角为您解答疑惑,咨询更多房产问题,来幸福里问答
kinnai是什么牌子的热水器?地址位于上海市奉贤区团青公路4500号。公司经营范围:生产各类燃烧器具、家用电器、太阳能设备、厨房设备、净化设备、净水设备、空调设备、燃气采暖热水炉、...
上海施威重工成套有限公司介绍?上海施威重工成套有限公司是2009-04-10在上海市奉贤区注册成立的有限责任公司(自然人投资或控股),注册地址位于上海市奉贤区青工路418号。上海施威重工成套有...
相关文章

最新评论