外接小家电维修拆装 小家电专用部件代换及维修技术
小家电专用部件代换及维修技术
一、电磁炉换板
随着电子技术的不断发展,家用电器的电路板逐渐单元化、模块化,对于大面积损坏元器件的电磁炉,采用整板或局部更换的方法更为方便快捷,给广大维修人员带来了不少方便。下面介绍电磁炉换板的方法与步骤。
1、电磁炉维修板
目前市面上的电磁炉维修板品种很多,价格在几十元不等。下图电磁炉的锅底励磁线圈(含热敏电阻器)、风扇及外壳,即可进行整机换修,十分方便快捷。
该电路板上有两个插针用来改变风扇供电电压和电磁炉整机输出功率。
2、换板维修
将原机上的主副电路板全部拆除,只保留励磁线圈、锅底感温电阻器、散热风扇即可。将维修板放入适当的位置固定后,插上锅底感温电阻器、散热风扇 插头及承板随附送的按键板插头,再用螺钉紧固原加热线盘两个接头即可。全部连接好后,固定线盘和维修板。检查线路连接正确后,将输出功率插针和风扇电压插针插到合适的插脚上(看风扇上的电压标签,输出功率则根据使用需要来定),再装上面板即可 通电试机。
二、电磁炉面板碎裂的更换
电磁炉的承载面板在一般的配件市场买不到,加之形状大小不一,一般的维修店也难有备件,但大多只能自制。自制方式如下:
1、首先寻找一种耐高温冲击、承重力足够、绝缘阻燃的材料。常用的材料是建筑瓷砖(贴面砖),这种材料在一般建材商店都可买到。选购时要求厚度尽量和原面板差不多(可以通过调整励磁线盘高度来微调与面板间的距离),在瓷砖的反面浇一杯水以不冒气泡或者气泡少者为佳,表面尽量光滑。
2、 然后按照原面板形状切割。进行切割时,用砂轮机对边角进行打暦,使周边与电磁炉面板安装部位完全吻合。
3、切割合适后再用胶粘固即可使用。需要调整励磁线圈与面板上表面的距离与原面板一致,以免电磁炉出现异常情况。
三、 电磁炉IGBT的更换
电磁炉烧IGBT,在更换IGBT的同时记得把驱动管或驱动块也更换,还要检査 0.3uF、5uF的电容器。为了在更换IGBT后不再次烧坏,可在交流电路上,串接一个60 -100W的灯泡,再加锅,接通电源,检测步骤如下:
1、 若灯泡暗红(插上220V后待机指示灯亮),开启电磁炉电源,灯泡一亮一暗地闪烁(而插上220V后待机指示灯不亮);开启电磁炉电源,灯泡一亮即暗;再开电源也是一亮即暗,则表明电磁炉基本正常。
2、 若灯泡很亮,则表明IGBT完全导通。此时,若拆除灯泡通电工作,必烧IGBT。应主要査修驱动、谐振电容器,高压整流等电路。
3、 若灯泡暗红,开启电磁炉电源,灯泡亮度不变,则应主要查修面板控制、微电脑供电、副电源等电路。
4、 若灯泡暗红,开启电磁炉电源,灯泡一亮一暗地闪烁,但把锅具抬起灯泡很亮,属于抬锅炸IGBT,则检查CPU驱动、励磁线圈,此情况下大多数是线圈损坏。用万用表电压挡,将线圈与1-5V电池串联,若摆动幅度大,则表明正常。
上面操作完毕,也不能保证不烧IGBT,为了保护熔丝起见,最好用示波器测一下驱动信号,以不出现以上的尖脉冲为好。如有,请换LM339第③脚的滤波电容器。
四、消毒柜石英紫外线灯管的更换
更换灯管时,先将灯管电源插座拔掉,抽出灯管,再将擦净的新灯管小心地插入杀 菌器内,装好密封圈,检查有无漏水现象,再插上电源。
勿以手指触及新灯管的石英玻璃,否则会因污点影响杀菌效果。
五、吸油烟机电动机的代换
吸油烟机电动机代换时应注意采用同型号、同规格、同极数、同功率的电动机,否则容易出现发热或烧坏等故障现象。
六、小家电换板
小家电换板维修步骤基本相同,
对于电脑板损坏严重的小家电建议采用换板维修,这样既方便又快捷。换板步骤很简单,注意连接端口匹配,与原机进行直接连接即可。
帮帮哥丨R32制冷剂在空调维修时连接管的拆卸与安装操作规范
当今社会,能源和环境问题越来越突出,地球产生温室效应也越来越明显。之前常见的R22、R410A、R407C制冷剂的GWP(物质产生温室效应的指数)较高,属非环保制冷剂,对气候有一定的破坏作用。国际环保公约规定,2030年前我国必须完成非环保制冷剂的淘汰,GWP值较低的新环保冷媒R32、R290将成为行业的新宠。
I I I 连接管的拆卸 I I I
由于该类空调室内侧的连接管不可直接拆卸,如需对室内机系统进行维修时,则要破坏防拆卸螺母,具体操作步骤如下:
1)先对冷媒进行回收,这时需在上电后关闭大小阀芯.
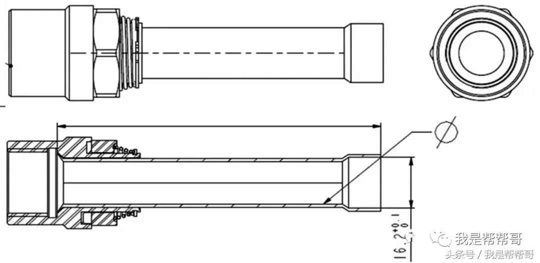
2)在大小连接管上,找到距离防拆卸螺母15cm位置,用割刀将其割断,如图1所示。由于割刀无法360度旋转,实际操作时需用手左右晃动连接管,从而将其分离并拆卸下来。
图1
3)分离开连接管后,须立即用胶带裹住大小连接管及蒸发器接管的管口,以防止灰尘进入,如图2所示。最后对室内机、蒸发器进行拆卸、检修或对漏点补焊。为安全起见,建议将室内机运回维修部进行检修。
图2
I I I 维修后的二次安装 I I I
1)安装连接管时,需预留防拆卸螺母配件的焊接位置,并去掉不规则椭圆部分的铜管,如图3所示。
如图3
2)清理干净喇叭口处的毛刺,并在连接管上焊接好新防拆卸螺母。防拆卸螺母的尺寸如图4所示。
图4
3)割断蒸发器所带铜管的大小接头,清理干净喇叭口上毛刺,焊接新接头。
4)将连接管与室内机对接,并用扳手紧固大小连接管。
5)抽真空、保压,打开大小阀芯,紧固后盖螺母,最后装上阀门提手,如图5所示。
提示:
1、制冷剂R32具有一定的可燃性,对其管道进行焊接时,操作点2m内严禁有可燃物。
2、该类空调的室内机安装有防拆卸螺母,若需拆走室内机进行检修,则需割断连接管,同时做好防尘、防水保护措施。
3、二次安装时,为避免烧坏室内机部件,需在室内机端连接管上先焊接好防拆卸螺母,再进行对接。
4、由于采用R32的空调管道压力比采用R410A的空调略高,加长管需采用质量较好的铜管,严禁采用市场上的劣质连接管。
相关问答
格力空调室内机接头怎么拆-ZOL问答4条回答:【推荐答案】这种接头没法拆卸下来,只能把连接管割断。这种接头也不是什么“新款”,主要是因为空调所使用的R32制冷剂易燃易爆,采用这种接头来防止冷媒泄...
两用电镐电锤拆卸方法?1、26电锤主要是在砖墙上、楼板等上面打孔用的,26电锤可以适当的调节到何时的位置,能当作普通的电钻和电镐来使用。2、把26电锤的前盖去掉,根据价格不一样,...
添加新的小爱音箱时找不到设备?可能是网络信号不好导致的,如果路由器信号没.问题,那就把小爱音箱放在路由器附近试试。1、检查路由器网络是否正常;2、确认音箱所在位置WiFi信号强度在3格及...
小家电 电线未褶皱部分断了怎么接?可以把断了的部分重新扒皮,连接起来就可以了可以把断了的部分重新扒皮,连接起来就可以了
烤电器怎么拆?复安装时切勿漏装各个管路,以免漏油及排烟不畅。注意事项清洗时无须卸下不锈钢台面板;在操作时注意灶口的方向;对控制面板操作和以前机型完全不一样,勿强制性...
萌宝多功能电热锅怎么拆?关于萌宝多功能电热锅的拆卸方式,由于缺乏更具体的产品信息,我无法提供准确的方法。然而,一般来说,电器产品的拆卸通常应由专业技术人员进行,以确保拆卸过程...
隔电器的正确安装方法?1、先固定挂板,安装好电热水器在固定板上接好地线和零线、火线。地线跟家庭的地线连接,颜色为黄绿色;火线跟漏电保护器火线连接,颜色为棕红色;零线跟漏电保...
逆变器 维修 方法视频教程[最佳回答]逆变器的维修方法如下:1、逆变器绿色指示灯不亮,外接电器不工作。电瓶输出不正常,检查电瓶输出电压,不在正常范围时充电或更换电瓶;2、逆变器红色指...
冰淇淋机 拆装 及保养?1、每天必须清洗制冷缸。2、清洗机身。保持机身外表干净清洁,用温毛巾檫拭机身,清除污渍,不可用水冲洗,以免电器发生故障。3、清洗冷凝器...1、每天必须清...
卫生间欧普风暖照明灯如何拆除?1.首先需要在关闭电源的前提条件下,保证无电操作,保证我们的接线安全。接下来再拆一下暖风灯的灯罩,打开之后,会看到里面分布着两个灯管,将螺丝拧下来,只需要...
相关文章

最新评论