宝山家电维修培训拆装学校 夏日家电维修哪里找,请查收这份宝山家电维修推荐企业名单→
夏日家电维修哪里找,请查收这份宝山家电维修推荐企业名单→
“不要轻信搜索引擎、短视频广告”“不要拨打信箱小广告上的维修电话”“不要轻易让‘马路游击队’上门”……维修家电也需谨慎,避免被不实信息坑害。
7月起,本市持续高温天气,烈日当头,为迎接各类家电维修高峰期的到来,962512上海家电服务热线、上海家用电器行业协会、上海交电家电商业行业协会、上海电子产品维修服务行业协会(“一台三会”)整理了一份最新版的“主要家电品牌全国统一服务电话一览表”,并向社会公布了“2023年第一批上海市家电维修服务行业398家推荐企业名单”,供市民在接受服务时明辨优劣,满足市民家电维修服务需求。
2023上海市家电维修服务行业
推荐企业名单
本次向社会推荐的名单中,宝山共有39家企业,均承诺明示收费标准,不随意增加收取费用,不小病大修,争取服务高峰期间40小时的响应速度。
编辑:张睿芃
资料:区商务委
正规!宝山50个家电维修点位+162个品牌家电维修电话!请收藏
本周“大暑” 正式登场
“小暑大暑,上蒸下煮”
大暑正值“三伏天”里的“中伏”前后
意味着“蒸煮模式”的开启
高温时节到来
一年中各类制冷电器使用高峰也即将到来
此时
家电维修服务行业的服务量将达到峰值
高温天家用电器“罢工”了
没有空调的三伏天?
这个时候
服务供应短缺和安全问题可能会频发
也是家电维修“李鬼”现象频发阶段
上海市商务委表示,全市更新公布了162个品牌家电生产厂商售后维修服务电话,以及各个区域507家正规家电维修服务企业名单。其中,宝山共有50家 ,快来找找你家附近的吧~
消费者可以通过12345市民热线和市商务委官网等相关信息渠道进行查询使
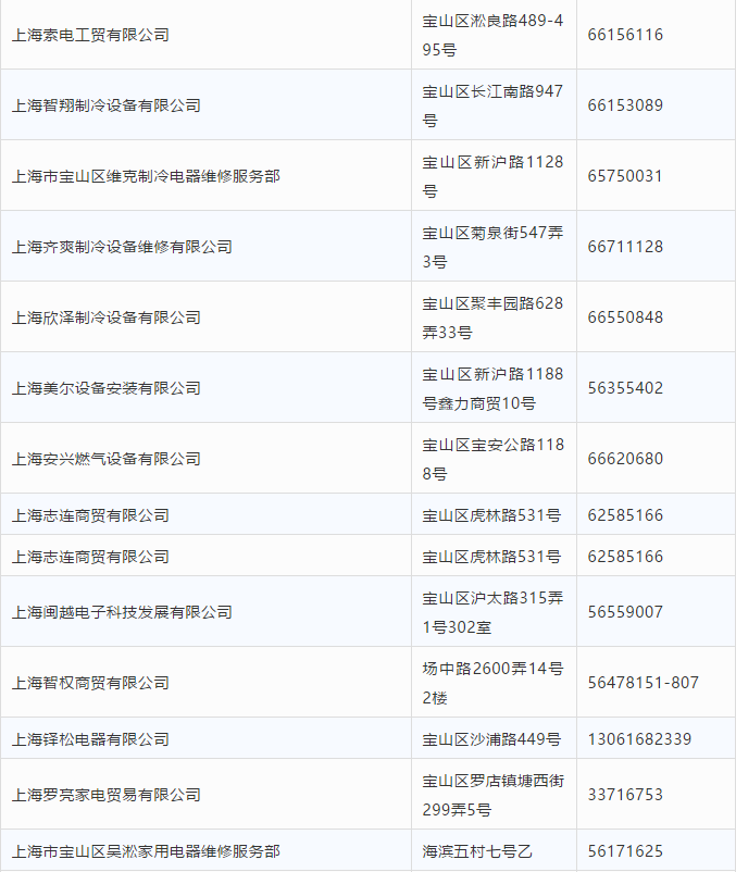
上海市家电维修服务行业推荐企业名单
(点击查看大图)
品牌家电维修售后服务信息
- END-
信息来源:上海市商务委、上海社区发布
相关问答
上海dse课程的 学校 有哪些?根据在上海生活和学习过的朋友介绍,上海dse课程的学校有∶家电职业技术学院宝山工程大学,华联大学,上海大学交通大学,上海职业技术中心等,如果需要学习更多...
上海康佳电视 维修点 地址在哪里?[回答]上海闵行江川永佳家电维修部维修地址:上海闵行区鹤庆路169号上海宝山维特维修部维修地址:上海闸北区宝通路528号上海兴萍五金交电商店维修地址:上海...
上海哪里有 维修 电视机的地方?[回答]上海电视机维修:上海壹佳数码电子科技有限公司维修地址:上海市虹口区大连路231号上海夏虹电器有限公司维修地址:场中路860号上海交家数码技术服务有...
上海康佳液晶电视 维修 中心点在哪里有-设计本有问必答维修地址:上海市杨浦区邯郸路159号上豪大厦3楼A座2、上海市奉贤区特约维修站。维修地...康佳家用电子产品上海市浦东区特约维修站维修地址:上海...
空调移机上海推荐哪家_土巴兔装修问答上海宝山空调移机以下几家公司不错:1.三星专业检测维修地址:上海市宝山区牡丹江路318号2.安广家电维修地址:新沪路1154号(近大华三路)3.宝葑家电维...
上海博亚煤气灶 维修点 在哪?-设计本有问必答地址:上海博亚煤气灶维修点维修地址:上海市奉贤区南亭公路674号维修地址:上海市奉贤区南桥镇南桥路839号维修地址:上海市崇明县南门路161号上海...
樱花电器上海有限公司地址在哪里_住范儿家装官网樱花电器宣城分公司地址:宝山区水产路1175号三楼,附近公交车详情:水产路同济路(公交站),地址:上海市宝山区水产路,途经公交:宝山21路空调,宝山11...
上海 宝山 附近进行二手房翻新有什么需要注意的吗?二手房翻新误区随意拆改墙体结构常见误区:很多人会认为,房内的承重墙不能拆,可是非承重墙却都可以拆。这其实是一大误区,事实上,并非所有的非承重墙都可以...
哪位好基友,急需帮忙!评价好的电工 培训 收费标准,电工 培训 ...[回答]宝山各镇登高证培训学校。长宁区低压电工证多少钱办理价格是多少电工培训的特种作业人员培训、考试的收费标准,由省、自治区、直辖市人民安全生产监...
上海百特机电有限公司介绍?简介:上海百特机电有限公司是一家集研发、制造、销售于一体的民营企业,总部位于上海宝山城市工业园区,靠近外环线丰翔路出口处700m,交通便捷。我们专业生产NEM...
相关文章

最新评论