工业电机、汽车电磁阀与家电电磁炉线圈好坏判断实操指南(新手入门+专业精准,适配多行业检测场景)
一、开头引言
线圈,是现代电气与电子设备中最为基础却又最为关键的核心元器件之一。无论是工厂流水线上日夜运转的大功率电机、汽车发动机舱内精准控制喷油的点火线圈和电磁阀,还是厨房里频频启停的电磁炉加热线圈,它们都遵循着电磁感应的基本原理——通过通电线圈产生磁场,实现能量转换、信号传递或机械动作执行。可以说,线圈的“健康状态”直接决定了整台设备能否正常运行。

对于电子维修人员、企业质检从业者和电子爱好者而言,掌握一套系统、精准、贴合行业场景的线圈检测方法,是排查设备故障、提升工作效率、规避安全隐患的必备技能。不同行业中的线圈在结构类型、工作电压、环境要求和失效模式上差异巨大:工业电机线圈重在绝缘耐压与匝间短路检测,需符合GB/T、IEC等强制性标准;汽车电磁阀/点火线圈强调快速定位与动态性能评估,需适配车载电气系统特性;家电电磁炉线圈则更关注热损伤与连接可靠性,维修场景多为“带板检测”。面对如此多样的检测需求,一刀切的通用方法显然难以胜任。
本文基于大量行业实践资料,从工业、汽车、家电三大典型应用场景出发,分层次详解线圈检测方法——新手可快速掌握万用表等基础工具的操作要领,专业人员可深入学习绝缘电阻测试、LCR表电感测量、匝间短路诊断等进阶技术。全文以“实操落地”为核心,兼顾基础与专业,帮助不同基础的读者快速掌握线圈好坏判断技巧。

二、前置准备
(一)工业电机/汽车电磁阀/家电电磁炉检测核心工具介绍
1. 基础款(新手必备,适配入门场景)
数字万用表:最基本的检测工具,用于测量线圈直流电阻、通断性和电压。新手应选择具有自动量程功能的型号,测量精度不低于0.5%。对于工厂入门质检员、汽车维修学徒或家电维修爱好者,一块基础款数字万用表即可覆盖90%的线圈初筛场景-。
绝缘电阻测试仪(兆欧表) :专门用于检测线圈绝缘性能。工业场景推荐500V/1000V两档可调的型号;汽车维修场景建议选配500V档位;家电维修中若涉及电机线圈检修同样需要兆欧表-。
非接触式红外测温仪:辅助判断线圈是否存在异常过热,适用于通电检测场景。
2. 专业款(适配批量/高精度检测场景)
LCR数字电桥(LCR表) :能精确测量线圈的电感量(L)、品质因数(Q)和等效串联电阻(ESR),是工厂流水线质量保证、电子维修业及元器件进货检验的核心仪器。精度要求不低于±0.5%,测量频率应覆盖1kHz~100kHz-。
匝间绝缘耐压测试仪:专业检测绕组匝间短路故障的核心设备,采用“冲击波形比较法”原理,能有效发现早期匝间绝缘缺陷-。
示波器(带高压探头) :用于分析点火线圈次级输出电压波形、电磁阀驱动波形等动态信号,是汽车维修和工业电机故障诊断的进阶工具-。
汽车诊断仪(解码器) :连接车辆OBD接口,读取电磁阀、点火线圈相关的故障码和实时数据流,是汽车维修专业的标配-。
(二)工业/汽车/家电线圈检测安全注意事项(重中之重)
进行线圈检测前,务必逐条确认以下安全事项:
断电与放电:任何涉及电阻测量、绝缘测试的操作前,必须先断开设备电源并确认无残留电荷。对于电容耦合的电路,需额外进行放电处理-。
绝缘防护:操作人员需穿戴绝缘鞋、绝缘手套等防护装备。进行高压绝缘测试(如工频耐压)时,全程不触碰高压输出端和测试线缆接头-。
档位确认:使用万用表检测电阻前,必须确认档位已切换至Ω档,严禁在通电状态下用电阻档测量——这极易烧毁万用表甚至危及人身安全-。
拆端检测原则:测量线圈电阻时,建议将线圈一端从电路中断开,避免并联回路影响测量结果的准确性-。
环境要求:检测工作区保持清洁、干燥。高湿环境会显著影响绝缘电阻测量结果的准确性,应尽量避免。
(三)线圈基础认知(适配多行业精准检测)
线圈本质上是由绝缘导线绕制而成的电磁元件,其核心性能由以下几个关键参数决定:
直流电阻(DCR) :线圈本身铜线的电阻值,单位为Ω或kΩ。线圈匝数越多、线径越细,电阻越大。
电感量(L) :线圈存储磁场能量的能力,单位为H(亨利)、mH(毫亨)或μH(微亨)。电感量取决于匝数、磁芯材料和线圈结构。
绝缘电阻:线圈绕组与铁芯/外壳之间的绝缘性能,单位为MΩ。绝缘电阻过低意味着漏电风险。
匝间耐压:线圈相邻匝之间绝缘层承受电压的能力,匝间短路是线圈最常见的致命故障之一。
在不同行业中,检测侧重点有所不同:工业电机线圈更关注绝缘电阻和匝间耐压是否符合GB/T和IEC标准;汽车电磁阀/点火线圈强调直流电阻偏差控制和动态输出特性;家电电磁炉线圈则重点关注线圈盘是否有局部烧毁、焊点是否松动等物理损伤--。
三、核心检测方法
(一)线圈基础检测法(工业/汽车/家电新手快速初筛)
基础检测法无需复杂仪器,侧重行业场景下的快速初筛,适合维修人员现场诊断或爱好者初步判断。
操作流程:
视觉检查:关闭电源并拆开设备外壳,仔细观察线圈外观。重点查看线圈表面绝缘层是否有发黑、烧焦、鼓起、碳化或铜线裸露现象;检查接线端子是否有氧化、松动或烧蚀痕迹-。
嗅觉判断:闻一闻线圈是否有明显的焦糊味——线圈长时间过热或烧毁时,绝缘层会释放出刺鼻的气味。
通电听声:在安全前提下,给线圈施加额定电压,听是否存在异响。正常的电磁线圈工作时只有轻微“嗡鸣”声;若发出类似电钻的尖锐啸叫声或“嗒嗒”的间歇性声响,通常提示线圈匝间短路或铁芯松动-。
行业专属判断标准:
工业电机场景:若电机外壳异常烫手,或闻到底部有明显焦味,应高度怀疑绕组匝间短路或过载烧毁。工厂质检人员在巡检时,可用红外测温仪扫描电机表面温度分布,局部高温点是绕组绝缘劣化的典型信号-。
汽车维修场景:启动发动机后,若点火线圈外壳出现明显裂痕、鼓包或高压放电痕迹,或电磁阀周围有漏油迹象(油液沿线圈外壳渗漏),可直接判定为失效。
家电维修场景:拆开电磁炉底盖后,重点检查线圈盘表面黄色/白色绝缘涂层是否有大面积发黑、鼓起或脱落,同时观察周边元件(如IGBT、谐振电容)是否有爆裂、鼓包现象-。
(二)万用表检测线圈方法(工业/汽车/家电新手重点掌握)
万用表是线圈检测中使用频率最高、最基础的工具,新手务必熟练掌握。根据行业应用场景,可分为以下检测模块:
模块一:直流电阻测量(通断性检测)
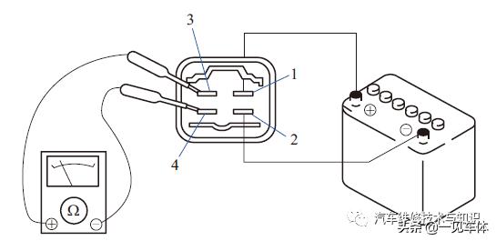
仪器档位选择:将万用表调至电阻档(Ω),根据线圈标称电阻选择量程——电磁阀、继电器线圈通常在几十至几百欧姆,选200Ω档;电机绕组电阻较小,可选20Ω档;点火线圈次级绕组电阻较高(数千至上万欧姆),需选20kΩ或200kΩ档-。
操作方法:先断电并拆下线圈一端引线,将红黑表笔分别接触线圈两端引脚,读取万用表上的读数-。
判断标准:与正常值对比(可查阅设备维修手册或参考同型号元件),偏差在±10%以内视为正常;读数无穷大(显示“OL”)说明线圈断路;读数显著低于正常值则提示匝间短路-。
模块二:绝缘电阻测量
仪器档位选择:使用兆欧表而非普通万用表。小型电机用500V DC兆欧表,高压电机用1000V DC或更高电压等级的兆欧表-。
操作方法:将兆欧表“L”端接线圈绕组引线,“E”端接电机外壳或铁芯。匀速摇动手柄或按动测试键,稳定后读取绝缘电阻值-。
判断标准:用500V兆欧表测量时,绝缘电阻应大于0.5MΩ(某些标准要求≥1MΩ);低压电机绕组对地绝缘电阻通常要求≥100MΩ(20℃条件下);低于阈值提示绕组受潮、绝缘老化或存在接地故障-。
行业实用技巧:
工厂新手:在检测工业电机前,先查阅设备铭牌上的额定电压和功率信息,以此判断绕组的大致电阻范围。例如,小功率电机(几百瓦)绕组电阻通常在几欧至几十欧,过大或过小都可能存在问题。
汽车维修新手:检测点火线圈时,务必同时测量初级绕组电阻和次级绕组电阻,两者缺一不可。初级电阻通常在0.3~2.0Ω,次级电阻在5kΩ~20kΩ之间-。对于电磁阀线圈,参考值:12V系统通常在80~120Ω,24V系统在200~300Ω区间-。
家电维修新手:电磁炉线圈盘电阻一般很小(通常<1Ω),普通万用表可能无法精确测量。此时应重点关注外观和连接可靠性——接线端子虚焊或松动是电磁炉间歇加热的常见故障原因-。
(三)行业专业仪器检测方法(进阶精准检测)
适配工厂流水线、专业质检和深度诊断场景,需借助专业仪器完成高精度检测。
1. LCR表检测电感量(工业电机/汽车电磁阀/家电线圈通用)
适用场景:工厂进货检验、批量检测、维修中验证线圈参数是否符合设计规格。
操作流程:
第一步:将LCR表开机预热,选择测量模式为电感量(L)和电阻(R或DCR)。
第二步:根据线圈工作频率选择测试频率——电源滤波电感通常选100Hz/120Hz,开关电源变压器选1kHz~100kHz。
第三步:将测试夹具连接到线圈引脚,确保接触可靠。
第四步:读取显示的电感量数值,与标称值或正常值对比,偏差通常在±20%以内视为正常-。
进阶技巧:对于带磁芯的线圈(如工频变压器、电磁铁),可采用直流偏置电流源LCR测试仪,模拟线圈实际工作电流,精准测量不同偏置条件下的电感量,有效识别磁芯饱和问题-。
2. 匝间绝缘耐压测试(工业电机线圈专业检测)
适用场景:电机绕组批量检测、维修后验证、预防性维护。
操作流程:使用匝间绝缘测试仪(采用冲击波形比较法),向被测线圈施加标准脉冲电压,通过比较冲击波形的衰减振荡曲线来判断是否存在匝间短路或绝缘弱化--。
核心判断指标:电流不平衡度应在0.1%至10%范围内,超出阈值提示匝间短路故障-。
3. 汽车诊断仪检测电磁阀/点火线圈(汽车维修专业必备)
适用场景:汽车维修店、4S店发动机故障排查。
操作流程:连接OBD诊断接口→读取故障码→查看电磁阀或点火线圈相关数据流(占空比、实际电流、反馈电压等)→使用万用表或示波器交叉验证--。
核心判断指标:点火线圈次级输出电压应在规定范围内(一般25kV~40kV),波动幅度不超过±10%;电磁阀线圈驱动波形应平整、无毛刺-。
四、补充模块
(一)工业、汽车、家电不同类型线圈的检测重点
工业电机场景——高压电机定子绕组 vs 低压电机绕组
高压电机定子绕组(≥1kV) :检测核心是绝缘性能。需逐项完成绝缘电阻测试(≥1000MΩ@DC2500V)、介质损耗角正切值测量(tanδ≤0.8%)、局部放电量监测(≤10pC),以及工频耐压测试(2kV~20kV持续60s无击穿)-。
低压电机绕组(<1kV) :检测侧重直流电阻平衡度(三相绕组电阻偏差≤3%)和对地绝缘电阻(≥100MΩ)。
汽车电子场景——点火线圈 vs 电磁阀线圈
点火线圈:检测重点在初级绕组电阻精度(偏差≤±5%)、次级输出电压稳定性(波动≤±10%)和绝缘耐压强度--。壳体有无裂纹、烧蚀也是关键观察项-。
电磁阀线圈:检测侧重直流电阻偏差(≤±5%)、通电后的电磁吸合力以及密封性(防止油液渗入线圈内部导致短路)-。
家电维修场景——电磁炉线圈盘 vs 电机/继电器线圈
电磁炉线圈盘:检测核心在线圈盘表面绝缘层有无烧焦、鼓起、铜线裸露,接线端子有无虚焊或松动,以及周边谐振电容是否正常--。
家电电机/继电器线圈:采用“闻味、看色、测量”三步法——先闻有无焦味,再看线圈颜色变化(正常为铜色或漆包色,发黑提示过热烧毁),最后用万用表测阻值判断-。
(二)工业、汽车、家电线圈检测常见误区(避坑指南)
以下误区在不同行业反复出现,务必警惕:
误区一:不断电直接用电阻档测量——这是最危险的操作错误!通电状态下测电阻会烧毁万用表,且存在触电风险。正确做法:先断电、再放电、后测量-。
误区二:忽视环境温度对电阻测量的影响——线圈电阻随温度升高而增大(铜导线温度系数约+0.4%/℃)。工厂质检和维修中,应在相近温度条件下对比测量值,或用温度系数校正后再判断。
误区三:用普通万用表测绝缘电阻——普通万用表输出电压仅几伏,无法有效评估线圈的绝缘性能。必须使用兆欧表(绝缘电阻测试仪)施加高压进行测试-。
误区四:汽车维修中未匹配电压标准检测电磁阀——12V系统和24V系统的电磁阀线圈电阻范围差异很大(前者80~120Ω,后者200~300Ω),用错参考值会误判为“阻值异常”-。
误区五:家电维修中忽视连带故障——电磁炉线圈烧毁往往不是孤立故障,IGBT击穿、谐振电容失效或风扇停转都可能是根本原因。只换线圈不排查根源,通电后可能再次烧毁-。
(三)工业、汽车、家电线圈失效典型案例(实操参考)
案例一:工厂电机线圈过热烧毁——忽视通风导致故障扩大
某化工厂一台45kW变频电机在运行中突然跳闸停机。维修人员现场检测发现,电机外壳异常烫手,打开端盖后定子绕组绝缘层大面积发黑碳化,部分线圈甚至熔成铜团。进一步排查发现,电机通风道被生产现场的粉尘和杂物严重堵塞,长期散热不良导致绕组温度持续升高,最终引发绝缘老化击穿-。
教训与解决方案:定期清理电机表面杂物和通风道,在电机上方安装防护罩防止异物进入。建议工厂质检部门将电机散热检查纳入日常巡检项目。
案例二:汽车VVT电磁阀线圈阻值异常——发动机故障灯频繁点亮
某品牌车辆行驶5万公里后频繁亮起发动机故障灯,4S店多次清码仍反复出现。维修技师使用万用表检测VVT电磁阀线圈电阻,发现实测值偏离正常范围约20%;同时用汽车诊断仪读取数据流,发现油压响应延迟严重。最终判定电磁阀内部线圈老化导致电磁力不足,更换电磁阀后故障彻底排除-。
教训与解决方案:VVT电磁阀故障常被误判为“易损件”频繁更换,但根本原因可能是油路积碳或机油劣化导致线圈负载异常-。维修时务必同步检查机油品质和油路系统。
案例三:电磁炉线圈盘接线端子虚焊——间歇加热屡修不好
一台电磁炉出现间歇加热现象,用户先后更换了多个元件仍未解决。维修师傅拆机后发现,线圈盘接线柱周围的焊点存在明显裂纹——这是典型的“虚焊”故障。线圈大电流工作时焊点因热胀冷缩间歇性接触不良,导致电磁炉发出“滴滴”报警声并停止加热。重新焊接接线端子后故障彻底排除-。
教训与解决方案:家电维修中,线圈盘虚焊是间歇加热故障的高发原因之一,维修时应首先检查线圈盘接线端子的焊接质量,而非盲目更换元件。
五、结尾
(一)线圈检测核心(多行业高效排查策略)
综合以上内容,根据不同行业和应用场景,推荐以下分级检测策略:
工业电机场景(工厂质检、设备维护)
初级排查 → 外观检查 + 听声测温
标准检测 → 万用表测直流电阻 + 兆欧表测绝缘电阻(判断基础好坏)
专业精测 → LCR表测电感 + 匝间耐压测试 + 工频耐压测试(批量检测/验收)
汽车维修场景(维修店、4S店)
初级排查 → OBD诊断仪读故障码 + 外观检查
标准检测 → 万用表测电磁阀/点火线圈电阻(分初级和次级)
专业精测 → 示波器分析驱动波形 + 绝缘耐压测试 + 动态响应测试
家电维修场景(维修店、爱好者)
初级排查 → “闻味、看色、听声”三步初筛
标准检测 → 万用表测通断 + 兆欧表测绝缘(电机类家电)
专业精测 → LCR表验证电感参数 + 红外测温扫描热点
核心原则:先外观后电气,先断电后通电,由简到繁逐级推进。
(二)线圈检测价值延伸(行业维护与采购建议)
日常维护建议
工业场景:建议每季度进行一次绝缘电阻抽检,每半年完成一次匝间耐压测试,重点关注三相绕组电阻平衡度。运行环境恶劣(高温、高湿、粉尘)的电机应缩短检测周期。
汽车场景:更换机油时同步检查电磁阀和点火线圈的外观及接线状况,出现发动机故障灯时优先用诊断仪读取数据流。
家电场景:电磁炉使用中若闻到焦味或出现异常报警,立即断电并送修,切勿继续使用——线圈烧毁可能连带损坏功率管和主控板。
采购与选型建议
选购工业电机时,要求供应商提供出厂检测报告,重点关注绝缘电阻(≥100MΩ)、直流电阻偏差(≤±5%)和耐压测试记录-。
选购汽车电磁阀/点火线圈时,确认产品符合QC/T 16-2016或JB/T 9865-2021标准,避免使用无明确标准依据的非原厂件-。
选购家电时,注意电磁炉线圈盘材质——铜线圈盘比铝线圈盘导热和导电性能更优、寿命更长,但成本较高-。
(三)互动交流(分享您所在行业的线圈检测难题)
你在日常工作中是否也遇到过线圈检测方面的棘手问题?欢迎在评论区分享:
在工业电机检测中,是否遇到过绝缘电阻测试值正常但运行中仍频繁跳闸的情况?匝间短路早期诊断有哪些实战经验?
在汽车维修中,电磁阀或点火线圈的故障码是否曾让你困惑不解?用示波器捕捉驱动波形时发现了哪些意想不到的异常?
在家电维修或电子DIY中,电磁炉线圈盘烧毁后是否查出过更深层的电路故障?有什么维修妙招?
关注我们,获取更多电子元器件检测干货,与十万行业同仁一起交流成长!
版权声明:本文为原创内容,基于行业实践资料整理。如需转载,请注明出处。
相关文章
-
工业电机、汽车电磁阀与家电电磁炉线圈好坏判断实操指南(新手入门+专业精准,适配多行业检测场景)详细阅读
一、开头引言线圈,是现代电气与电子设备中最为基础却又最为关键的核心元器件之一。无论是工厂流水线上日夜运转的大功率电机、汽车发动机舱内精准控制喷油的点火...
2026-04-23 1
-
工业热电阻检测实操指南(工厂生产线适配,仪表工新手也能快速上手)详细阅读
工业热电阻是冶金、石化、制药等领域最核心的温度监测元件,其测量精度直接影响生产安全和产品质量。本文基于IEC 60751-2022及GB/T 3012...
2026-04-23 5
-
工业单片机μPD70320好坏检测实操指南(适配工业控制与自动化场景)详细阅读
核心关键词:测量μPD70320单片机好坏、μPD70320检测方法 μPD70320是NEC(现Renesas)公司推出的V25系列16位单片机,...
2026-04-23 6
-
工业与汽车线圈电感测量实操指南:从万用表初筛到LCR电桥精测(附标准参数与故障案例)详细阅读
开头引言 电感线圈作为电子电路和工业设备中的储能与滤波元件,广泛应用于工厂生产线、电机驱动系统、汽车点火装置、开关电源及通信设备等场景。在日常运维与...
2026-04-23 6
-
工业与汽车差分信号检测实操指南(故障排查适配,新手与专业工程师通用)详细阅读
一、核心写作目标 本文撰写目标是以“实操落地、行业适配”为核心,兼顾新手入门与专业需求,基于差分信号在工业通信(RS-485)和汽车电子(CAN总线...
2026-04-23 7
-
工业·汽车·家电继电器检测实操指南:从入门到专业,精准判断继电器好坏详细阅读
一、核心写作目标 撰写出电子行业元器件检测实操指南,以“实操落地、行业适配”为核心,基于继电器行业应用场景与检测标准,清晰讲解工业、汽车、家电等主流...
2026-04-23 8
-
家电维修与办公设备场景适配:夏普元器件检测实操指南(万用表法·新手必学+专业精准)详细阅读
一、引言 夏普(Sharp)作为全球知名的电子元器件制造商,在家电设备(液晶电视、微波炉、空调)、办公设备(复印机、打印机、传真机)、工业自动化及汽...
2026-04-22 8
-
压敏电阻好坏测量与检测实操指南(适配电源防护工业控制汽车电子等多行业场景,从新手快速判断到专业精准测试)详细阅读
引言 压敏电阻(Varistor,全称金属氧化物压敏电阻,简称MOV)是一种以氧化锌为主要材料(占比90%以上)制成的电压非线性电阻器件,在电路承受...
2026-04-22 9

最新评论