平安过大年|华富街道携手爱心企业,以旧换新除隐患
新春佳节即将到来,“平安过大年”是对居民朋友们最深切的祝福。为助力居民使用新国标插排平平安安度新春,2月5日至2月6日,华富街道联合爱心企业推出“以旧换新”活动,让辖区居民朋友们以新国标插排的出厂价格置换家中老旧插排。
插排是我们日常生活中的必备品,而使用不合规的插排,常常容易导致线路短路、漏电、过载、老化,稍有不慎非常容易引发火灾发生。“大姐,您看看这个带新国标字样的插排才是正规插排,里边还有保护弹片,可以防止小朋友发生触电危险的”,工作人员仔细为居民朋友们讲解“超龄”以及“质量不合格”的插排的危害以及新国标插排的特征,现场向居民朋友们普及用电安全小知识。
“小伙子,来给我换两个新插排,这是我家里的旧插排,用了好久了哦,看着都不安全”,“你也在换新插排啊,那我要赶紧回去把我家的旧插排拿来换,这个价格确实比超市便宜好多呢”,辖区居民朋友们对活动的举办十分满意,纷纷回家拿出自己的老旧插排来更换,回收上来的插线板有的还是“麻花线”,有的插线板都烧黑、摔裂了,居民拿胶带缠了又缠还在凑合用,有的接线处已看见铜丝,有的甚至是“三无”产品,都存在着不小的安全隐患。在活动期间共置换老旧插排300多个,涉及约270个家庭,这次惠民活动有效为辖区居民排除了用电安全隐患。
在举办置换活动的同时,工作人员还向居民发放安全宣传手册,现场进行居家安全知识问答,答对即可获得龙年专属红包,吸引了许多过路的居民积极参与,现场氛围热烈。
为了避免用电不当引起的火灾事故,华富街道安全小卫士在此提醒您,购买时要认准CCC标志品牌产品购买;安装时要优先选择官方正规途径的安装;使用时应不乱拉乱接、养成“人走断电”的好习惯;售后维修时注意选择正规售后渠道维修家电。华富街道祝居民平安祥和欢度新春佳节!
来源|晶报APP
记者:高志明
编辑:陈章伟
全电熔玻璃窑炉---承德华富方案
承德华富玻璃技术工程有限公司 2022年 CN216918995U
公司简介:
公司具有二十余年玻璃电熔技术、设计、大中修等成功经验,技术力量雄厚,可同时进行8个工程的现场施工,对输出的设备进行终身技术支持。 ● 目前累计输出玻璃电熔炉百余座,都在正常运行。
主要产品有: 钠钙玻璃电熔炉,适合于玻璃制品行业,灯饰玻璃行业 高硼硅玻璃熔炉:适用于太阳能管,汽车灯,灯饰配件铅晶质玻璃熔炉:适用于电子管玻璃、水钻、碳钻工艺品玻璃釉料玻璃玻璃熔炉:适用于陶瓷制品、家电产品的釉料 K523无铅水晶玻璃熔炉:适用于高等装饰、日用品、工艺品乳白玻璃熔炉:适用于灯饰玻璃、替代陶瓷制品全自动加料机(翻转进给、螺旋进给、顶部旋转)、退火炉(煤、电、气)、烤花炉、玻璃加工设备。 服务范围——从工艺设计开始至全套生产线的设计、制造、施工及安装调试。包括工艺布局设计、配合料设计、电熔炉、成型工艺的技术指导、环保型坩埚炉、退火窑、烤花窑、玻璃制品冷加工及深加工的设备。
背景技术
5.0中性药用玻璃管线膨胀系数是(4.8-5.1)×10-6 K-1 。国内也有的称其为 5.0中性硼硅玻璃或甲级料,5.0药用玻璃管主要是应用于药品的包装行业,例如疫苗瓶等。其主要特点为:与药液及血液长期接触不会有沉淀物析出,不会引起pH值的变化,具有优异的化学稳定性和热稳定性。
国内的几家生产5.0中性药用玻璃管的厂家都存在合格率低,产品质量不过关的问题。而国外对于其成熟技术保密程度非常高,所以可借鉴的技术资源非常少。
造成合格率低,产品质量不过关的主要原因是玻璃窑炉熔化的玻璃液质量不过关。而玻璃熔化最关键的就是熔化玻璃的设备,玻璃窑炉。因此,如何提供一种全电熔玻璃窑炉,不产生有毒有害气体和粉尘,窑炉运行稳定,受外界的干扰小,成为本领域技术人员亟需解决的难题。
技术细节:
熔化制作药用玻璃管的全电熔玻璃窑炉主剖视图
药用玻璃管的全电熔玻璃窑炉俯视图
药用玻璃管的全电熔玻璃窑炉左视图
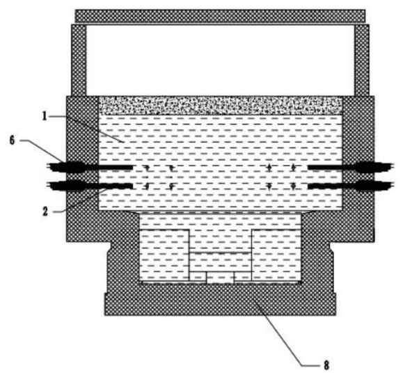
1、熔化池;101、熔化池上池;102、过渡层;103、熔化池下池;2、主熔电极;3、均化电极;4、流液洞;5、上升通道;6、电极水冷套;7、炉顶;8、炉底。
药用玻璃管的全电熔玻璃窑炉,包括熔化池1、主熔电极2、均化电极3、流液洞4、上升通道5、炉顶7和炉底8,所述炉顶7 和所述炉底8分别设置在所述熔化池1的上方和下方,熔化池1的下方通过所述流液洞4与所述上升通道5连接,所述熔化池1的上方设置有加料口,所述主熔电极2设置在所述熔化池的上池101上,所述均化电极3设置在所述熔化池炉底8上。
采用长短边交错排布的非正十二边形环状结构,窑炉深度 2800mm-3200mm。所述主熔电极2设置在所述熔化池1的短边,所述炉顶7和所述炉底8的外形与所述熔化池1外形相同。每条所述熔化池1的短边上的所述主熔电极2采用四个,四个所述主熔电极2矩形分布;所述炉底8的所述均化电极3采用六个,六个所述均化电极3 在所述炉底8均布。所述主熔电极2和所述均化电极3的末端设置有电极水冷套6。所述均化电极3的加热端长度不高过500mm。
所述熔化池1的外部采用收腰结构,所述熔化池1的内侧设置多个阶梯结构,所述阶梯结构将熔化池分为熔化池上池101、过渡层102和熔化池下池103。过渡层102主要作用将玻璃的熔化过程与均化、冷却过程分开,防止了熔化过程中未熔化好的携带气泡和结石的玻璃液流到达流液洞4,从而进入成型部形成缺陷。保证了熔化质量,尤其是对玻管中气线和均匀性有了很好的保证作用.
动作过程如下:
首先,加料机通过窑炉的加料口,将混合好的配合料均匀布在窑炉最上层,然后将交流电输入主熔电极2,在上池101中,电流传导到窑炉内熔融的玻璃液中,熔融的玻璃液通过离子导电,产生焦耳热,从而达到继续熔化玻璃的目的。
熔融的玻璃液在重力作用下沉降,经过过滤层102,过渡层102将玻璃的熔化过程与均化、冷却过程分开。熔化的玻璃液继续下降到下池103,在下池103 内的均化电极3的作用下保持温度,等待成型。
待成型的玻璃液经过流液洞4和上升通道5,并在流液洞4和上升通道5内自然冷却,接近成型温度,并将玻璃液从下池103,输送到成型部料道。
相关问答
进口蓄电池品牌排行有谁清楚- 一起装修网[回答]1、VARTA蓄电池欧洲最著名的瓦尔塔品牌免维护蓄电池,来自作为全球最大的蓄电池供应商江森自控集团,源自1888年德国汉诺威,长久以来瓦尔塔品牌系列...
黑河有哪些商场?