小书维修家电合集下载 微波炉的所有故障集锦大全以及分析和维修方法
微波炉的所有故障集锦大全以及分析和维修方法
写在开头
朋友们大家好我是小书修电器,在家电维修的路上奋战将近七年,今天呢想把自己在维修微波炉方面的的经验和维修方法和常见故障解决方法总结下来,微波炉基本上每个家庭都有,我们平时都要来热菜热饭非常的方便,尤其是冬天用的频率很高,一旦损坏后我们怎么办呢?现在小书把自己掌握的维修知识分享给维修同行和兴趣爱好者参考,尽自己一点绵薄之力服务大家,另外小书水平有限,不足之处敬请指出!
微波炉工作原理
微波炉加热的原理简单来说来是:当磁控管发射微波辐射到食品上时,食品中总是含有一定量的水分,而水是由极性分子(分子的正负电荷中心,即使在外电场不存在时也是不重合的)所组成的。然而这种极性分子的取向将随微波场而变动。由于食品中水的极性分子的这种运动。以及相邻分子间的相互作用,产生了类似摩擦的现象,使水温升高,因此,食品的温度也就上升了。微波是一种电磁波。微波炉由电源,磁控管,变压器、、高压电容、控制电路和炉腔等部分组成。电源经过变压器产生约四千伏的高压提供给磁控管,磁控管在电源激励下,连续产生微波,再经过波导系统,耦合到烹调腔内。在烹调腔的进口处附近,有一个可旋转的搅拌器,因为搅拌器是风扇状的金属,旋转起来以后对微波具有各个方向的反射,所以能够把微波能量均匀地分布在烹调腔内,从而加热食物。微波炉的功率范围一般为500~1000瓦。
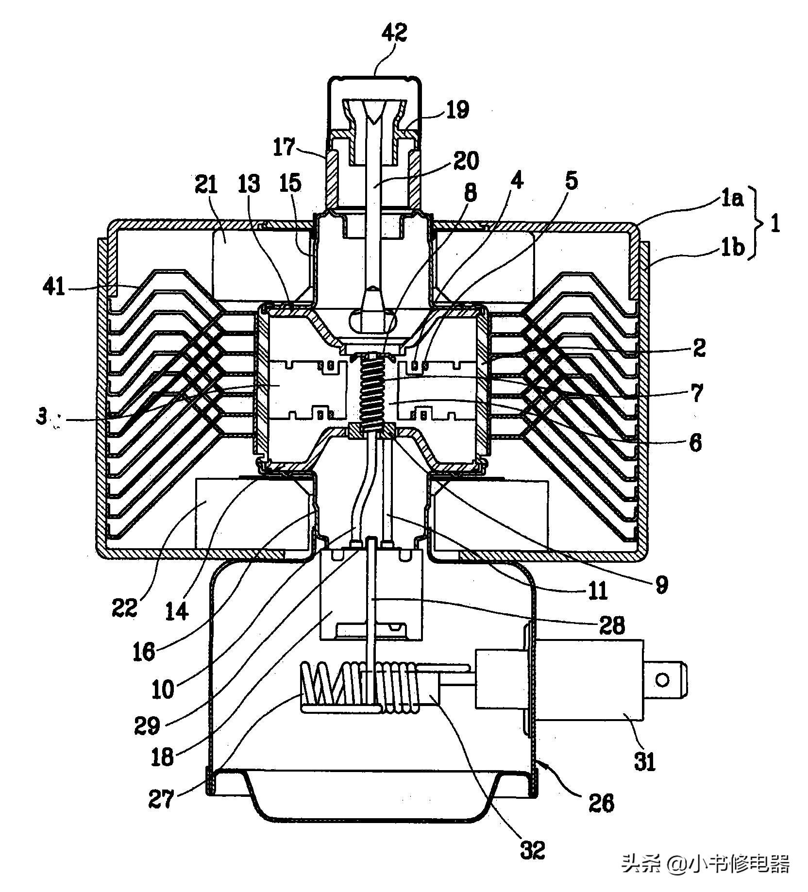
微波炉内部结构
微波炉又分为机械控制型和微电脑控制型,机械就是我们以前常见到的手动控制时间和输出功率的微波炉,面板是一个定时器控制的,现在生产的大多数是微电脑式的,电脑型它的电路由单片控制IC,就是通过控制板操作控制微波炉加热,除了这方面区别其他都都是相同的,同样是由电源、磁控管、变压器、高压电容、控制电路或机械开关等组成。其中磁控管是主要的器件,它的损耗同样也是微波炉中最常见的。
微波炉常见故障以及解决方法
微波炉不加热
如果微波炉不能加热的情况下,我们会遇到以下情况,首先要打开后盖壳子,一般用十字螺丝刀就可以拆掉,拆完之后我们要用尖嘴钳给高压电容放电,正常通电工作后,高压电容是有余电存在的,为了确保维修安全我们还是要进行放电的必要,用尖嘴钳两只脚出入高压电容两个电极就可以,偶尔能看到一点火花,那都是没事的,不加热我们最常见的就是变压器次级旁边的高压保险丝,它的熔断是最常见的,这时候只需要用万用表蜂鸣档测量保险丝两端就行,零直导通就是正常的,反之则是击穿损坏,高压保险丝是在一个白色的绝缘壳里面放着的一般规格为5KV0.75A或者0.8A/0.9A。如果它经常损坏可能是以下问题导致:
1、工作过流导致烧保险,其中包括: 1)磁控管老化功能下降,使工作电流增大。 2)高压电容器性能和高压二极管正向电阻增大。这种情况可以适当加大高压保险的容量。
2、磁控管时间久了老化比较厉害,促使工作电流增大,如果这样的话我们可以换一个新的磁控管进行安装。
3、保险丝规格不匹配,或是电压不稳定,微波炉的自我熔断保护造成。
4、通电后如果风机及托盘运转均正常,这表明电源控制系统及变压器完好,故障在高压系统中。可继续检查高压电容器和高压二极管,假如发现高压电容器已击穿,就说明机内保险丝烧断的原因是变压器次级短路电流过大。更换同规格的电容器后,故障即可排除。
5、变压器本身或电源控制电路发生故障也会引起保险丝烧断。可拔下变压器初级电路一端的插件,通电后若风机、托盘运转正常,说明变压器损坏。故障原因可能是变压器绕组匝间短路,更换变压器故障即可排除。若拔下变压器初级电路的插件后,通电机内保险丝仍熔断,则故障肯定发生在电源控制系统中。故障原因可能是联锁开关、监控开关损坏、电源线或导线严重漏电甚至短路所致。这些元件只要通过简单检查,即可发现故障所在,排除或更换元件后,微波炉即可恢复正常工作。
微波炉打火现象
怎么说这个打火呢,就在微波炉在工作时候可以看见火花和次次声音,这就是打火现象,这是什么问题导致的呢?我们详细说一下,就小书常见到就是由于微波炉的云母片粘上太多油污导致的,云母片损坏是打火或是云母片的温度过高超过自身的燃点所致。除打火原因外,还有其它的原因,那就是我们经常在微波炉中放了很多的含油脂的食物进行加热,时间久了,如果我们没有及时的擦拭或清洁云母片上的油脂,在加热的时候由于油温上升的很快,达到了两三百度,从而将云母片烧坏,预防方法就是及时清洁云母片上的油脂即可。使用完微波炉最好清洗下炉腔,这样对寿命有很好延长作用。如果磁控管没有烧坏我们换个云母片就可以了。磁控烧坏了一般都是前面的天线帽烧坏了,可以购买一个新的换上一般可以解决问题,如果不行那就直接换磁控管好了。
烧保险丝排查方法
微波炉的电路分为高压和低压两部分,检修的时候以高压变压器为截点,断开次级高压部分电路,保证检修的安全性,防止高压伤人也可以快速判断出故障所在,换上新保险丝进行通电,然后会出现以下几种情况出来,我们一一介绍:通电后风扇和转盘运行正常此时可以判断出电源和变压器正常的,那么炸保险的故障在高压端,这边是由高压电容和高压二极管组成这时候可以用万用表对高压电容和高压二极管进行检测,正常情况下1高压电容容量为1UF,且对地无穷大,如若不然那就坏了,二极管数字万用表不太好测,数字万用表测两端有阻值且为0欧姆那就是坏了,这种情况我们可以更换新的配件可以故障排除。
如果换上新的保险丝插上电源还是啪的一声炸断,那故障范围则是在低压部分,故障可能是在变压器或者电源电路中,这时候我们可以去掉变压器初级的输入电源线,插上电源风机转盘工作,那故障就是在变压器,但是如果去电变压器的220电源线还是烧保险,那故障可能是在门锁开关,常见的就是这些开关短路造成电流大保险丝而烧掉,发现了这些故障的点位我们就可以通过换件就可以解决了。
微波炉插上电源就跳闸
有时候也会遇到很多微波炉插电就跳闸,可以用万用表测量是否对地漏电,用电阻档测量,
如果有漏电我们要打开检测看看是哪里的问题,一般跳闸多数在那种微晶板的微波炉,当然转盘式的也有,平板式的因为使用时间的关系或者油污过多平板上的密封胶起皮导致油污渗入搅拌电机造成对地漏电,微波炉最底下有个检修小铁片,可以折断它就可以打开拆开检测,如果是这样就更换一个新的同步电机,并且把平板拆掉重新打胶,把油污清理干净。转盘式看看是否进水进去,或者和平板式一样进油污,打开检测找到结果。
高压变压器篇
微波炉用变压器是一个升压变压器。和常见的变压器相比没有很多特别之处。也是由初级绕组,次级绕组组成。初级绕组有且只有一组电压接220V交流市电。次级有两个绕组两组电压:一组电压是:4V左右的灯丝加热电压。另一组电压是:2100V给倍压整流供电的高压。微波炉高压变压器好坏检测方法:
1.不通电情况的检测判断:用万用表测量阻值。初级两端阻值2欧姆,次级灯丝阻值相接近短接。高压绕组阻值80~120欧姆。不同的变压器差别明显。
2.通电检测判断:把初级接上220V交流市电,看次级电压是否在范围内。灯丝4V左右,高压2000V,这里的2000V不好测量。常见的万用表测量电压没有这么高。可能通过引出电弧初步判断。这需要经验。也可以通过测量空载电流电流辅助判断。微波炉用变压器控制电流4A左右。
如果微波炉在工作中闻到特别难闻的味道那么一定是变压器烧掉了,这时候换上一个新的变压器就可以解决问题了。还有如果正常工作中炉腔始终黑的,打开门也是的,那就是灯泡坏了,那一个新的换上就行,如果转盘式的微波炉不加热我们除了对磁控管和高压保险丝、变压器还要对时间控制器进行测量,看是否有220V电压输出,没有就是它的问题了。好了就写到这里了,希望这些内容对大家有帮助,码字不易,给作者一个赞继续加油!!!!
家电换新,如何为废旧电器找个“好归宿”?丨睡前聊一会儿
睡前聊一会儿,梦中有世界。听众朋友,你好。
“618”消费节又至,各大电商平台针对家电产品打折促销力度较大,增强了不少消费者采购、置换家电的意愿。新的买来了,旧的咋处理?一扔了之太可惜,不扔又浪费空间,想回收有哪些靠谱放心的渠道?今天我们就来聊聊旧家电处置那些事 。
图源网络
我国是电器电子产品生产、消费大国,废旧家电循环利用发展大有可为 。数据显示,2021年我国电视机、冰箱、空调、洗衣机、电脑理论报废量约为2.08亿台,淘汰的废旧家电量每年都有不小幅度的增长。原因之一是,2009年前后在家电下乡政策推动下购买的家电,现在已进入更新换代节点。而随着经济社会不断发展,消费者对电器的需求更加多样,智能、绿色的产品为更多人所关注。再加上各地纷纷开展的绿色智能家电下乡、以旧换新等优惠活动,推动形成了家电普及性消费高峰。如何让废旧家电得到妥善处置,成为摆在我们面前的一道现实考题 。
处置和利用好废旧家电,可以有效减少私拆带来的环境污染,也能激发消费潜力,有利于构建绿色低碳循环发展的经济体系。如今,不少家电生产、销售、回收企业和电商平台,积极参与到废旧家电回收过程中。“互联网+回收”新模式日渐兴起,回收处理体系覆盖率大大提高;动动手指,就有人上门回收,消费者的服务体验也得以提升。但也要看到,废旧家电回收处理还存在回收规模偏小、渠道不够畅通、私拆屡禁不止等行业难题。部分废旧家电流入非法小作坊“翻新”,还带来安全隐患。为积存量较大的废旧家电找个好“归宿”,需要打通家电生产、消费、回收、处理全链条上的堵点,多一些更具针对性的产业引导政策 。
近年来,为完善废旧家电回收处理体系,相关政策不断出台。去年7月,国家发展改革委等三部门印发通知,鼓励家电生产企业开展回收目标责任制行动。今年年初,国家发展改革委联合商务部等有关部门印发相关指导意见,鼓励包括家电在内的生产企业发展回收、加工、利用一体化模式。可以看出,促进家电回收处理规范发展,推动落实生产者责任延伸制度是重要抓手 。
除了压实企业责任,在相关支持政策引导下,不少地方开始做出积极探索。比如,把家电回收纳入“无废城市”建设通盘考虑,通过科技创新提高废弃电器资源化利用水平;再如,鼓励生产企业与销售商合作,探索依托产品销售维修服务网络构建废旧家电逆向回收体系。这些有益尝试,带来了更多拓展行业发展空间的积极启示。
图源网络
妥善处理利用废旧家电是一个系统工程,需要全社会共同参与。 一方面,要算好环保账,坚持无害化处理、资源化利用,建立完善企业自愿、政府支持、社会参与的废旧家电回收处理体系。另一方面,也要算好经济账,鼓励依托互联网平台、加强技术创新等,降低回收的成本和难度;以废旧家电回收为切入点,向拆解、再生、再利用等环节延伸,有效提升废旧家电处理利用能力,让消费者、回收者、生产者都能得到更多实惠。明确责与权,健全管理制度和支持政策,才能让家电回收更方便、废品价值有提升,实现环境保护与循环经济发展的双赢 。
家电更新换代,归根结底是为了满足人们对美好生活的需要 。期待行业标准规范、政策体系进一步完善,期待家电消费和回收市场持续健康发展,让我们有了“新朋友”、不忘“老朋友”,在家电“焕新”的过程中,享受不断提升的生活幸福感。
这正是:
解好回收题,提升利用率。
换新省气力,环保又经济。
(文丨周珊珊)
| 荐书 |
★ ☆ ★
《与未来谈谈心——睡前聊一会儿》
★ ☆ ★
丨简介丨
继《与时代谈谈心》《与世界谈谈心》 后,人民日报评论部的“睡前聊一会儿”栏目再推系列读物之《与未来谈谈心》,把睡前几分钟的谈心,变成更为触手可及的陪伴。本书系统梳理了这两年中具有重要意义的新闻热点,分为风尚、世态、青春、时代、人物、文化、生活、社会、新知等部分,给读者一个触摸时间、观察世界的窗口。
我们在时间中跋涉,向着未来前行。面对过去,每个人都会有遗憾、懊悔、回忆;好在,每个人也都有未来,那里有困惑、失落,更有收获、希望。这本小书收录的,是时间中的圈圈涟漪,是记忆中的种种际遇,希望它能让我们在相连的悲欢中,“一起向未来”。虽然未来还不确定,但也正因如此,一切皆有可能。— “与时代谈谈心+与世界谈谈心+与未来谈谈心”套装 —
相关问答
2岁宝宝可以推荐看什么书,父母该如何陪孩子玩?谢谢邀请!婴幼儿时期是宝宝大脑发育的黄金时期,在这一时期父母要通过,看,读,听,做,来激发宝宝的潜能,使宝宝大脑发育更完善,所以说聪明的宝宝是从小练出...第一,...
过绿色生活意味着什么?小到家电厂商,会积极开发节能效率高的产品;大到各种可再生能源利用工程、建筑能效提升工程,会得到更多认可,更容易推进。从这个意义上说,随手关灯对社会的节...
相关文章

最新评论