虎门大桥的建设单位,设计单位,施工单位是谁?
虎门大桥位于广东省广州市东南约42km,坐落于鸦片战争古战场的遗址上,横跨珠江出海口东西两岸,是连接珠江两岸及粤东、粤西的重要交通枢纽,是沟通港、澳及广东沿海的一座特大型桥梁。由跨越主航道的主跨888m的悬索桥、跨越辅航道的主跨270m的预应力混凝土连续钢构桥和东、中、西引桥组成,还包括隧道3座,全长4606m。
建设单位:广深珠高速公路虎门大桥有限公司
设计单位:主桥工程由交通部公路规划设计院设计;东、西引道由交通部第二公路勘察设计院(设计)
施工单位:广东省长大公路工程有限公司
混凝土用量:848 272.5m3
钢材用量:111 087.9t
造 价:29.4亿元
建成日期:1997年4月28日竣工。
桥位东、西两岸为丘陵区,江面宽3400m,江心有三岛,北为上横挡岛,南为下横挡岛,西北为大虎岛;桥位属热带海洋性气候,年平均气温为22℃,年平均降雨量为1669mm,夏季受台风影响;主航道水深约30m左右,辅航道水深一般为6m~10m,深槽为15m;主航道江底除岩石暗礁外,沉积有砂岩、卵石,在虎门大桥东塔以东侧地基为粉砂岩和石英砂岩,西侧为中细粒黑云母花岗岩;辅航道江底较平坦,表层为细砂、砂砾所覆盖。
虎门大桥为六车道平原微丘高速公路特大桥,设计速度120km/h;桥位处20m高百年一遇10min平均最大风速值为50.2m/s,桥位处设计风速为61m/s;地震烈度六度按七度设防。通航净空:主航道:60m × 300m(高×宽)设计通航5万吨级.
虎门大桥主航道桥为跨径888m的单跨双铰加劲钢箱梁悬索桥。桥跨布置为302+888+348.5m。
(1)、索塔
索塔基础根据不同的地质条件,东塔选用上、下分离式的群桩基础,每个塔柱下由16根Ф2.0m的钻孔灌注桩组成,西塔上游采用平面尺寸为12m×16m的扩大基础,下游采用12根Ф2.0m的钻孔灌注桩。
索塔塔身采用门式框架结构,由两侧塔柱及中间的三道系梁组成,塔柱为钢筋混凝土空心薄壁结构,系梁为预应力混凝土空心薄壁结构。桥面以上89.86m,基顶以上147.55m,高跨比1/6。
东塔采用翻转模板施工,西塔采用电动爬架拆翻模施工,系梁采用膺架法施工。东、西两塔施工后跨径差<8mm,相对精度为1/111000。
(2)、锚碇
东、西锚碇形式均为重力式锚碇,东锚碇基础为明挖扩大基础,基础下为泥质砂岩,设计摩阻系数为0.4,设计控制主缆拉力为2×172 600kN,使用混凝土4.4万方。西锚碇为采用地下连续墙方法施工的圆形扩大基础,基础为花岗岩。设计摩阻系数为0.6,抗滑安全系数2.3,设计控制主缆拉力为2 x×174 400kN,使用混凝土7.5万方。采用型钢锚固系统。
(3)、主缆和吊索
单根主缆由110束预制索股组成(每束预制索股为127丝Ф5.2mm高强镀锌钢丝平行集束组成正六角形),在索夹处断面直径为678.7mm,索股平均长度为1634m,全桥共用镀锌高强钢丝7638t,其中一半是使用江苏江阴钢丝厂研制的。80%的索股在现场制作,然后直接牵引上桥架设。索股两端为锌、铜合金灌注的热铸锚。每根主缆分四段进行防护。两岸锚跨及主鞍座部分用抽湿技术,外露部分用缠丝、涂料等七层防护。主缆矢跨比为1/10.5。主缆索股以前锚方式直接与型钢拉杆锚固,用钢垫板微调长度。
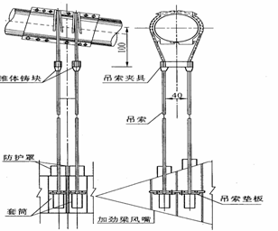
吊索在全桥的布置型式为平行竖直吊索,每个吊点由四根Ф52mm的优质金属芯镀锌圆股钢丝绳组成,吊索与主缆的连接采用背骑式,吊索通过主缆上的索夹槽口骑越主缆,锚于钢箱梁风嘴内。
(4)、主索鞍、散索鞍、索夹
主索鞍、散索鞍由主(散)索鞍本体、上、下支承板、安装板(底座)、隔板、拉杆等部件组成,主(散)索鞍本体为铸焊组合件,由鞍槽及鞍座两部分组成,鞍槽为铸钢件,鞍座为厚钢板焊接件。主索鞍本体顺桥向分成两个半块,以减轻吊装重量,安装就位后用螺栓连整体。
索夹设计成马鞍形,每个索夹由两个半块铸钢件组成,在主缆上左右对合后以螺杆和螺母将其连成整体,紧固于主缆之上,其中高强螺栓用新研制的压扭液压扳手紧固,并专门制定了轴力管理规程,进行索夹摩阻模型试验。全桥索夹分6种类型,一类为紧靠索鞍的封闭索夹,一类为边跨主缆索夹,中跨索夹分成4类,以适应主缆与吊索之间不同的夹角。
(5)、加劲钢箱梁、支座
加劲梁截面形式为U型加劲肋正交异性板桥面的扁平闭口流线型的单箱单室截面,箱梁全宽(包括风嘴)为35.6m,梁高3.012m,桥面设2%的双向横披。梁的高跨比为1/295,宽跨比1/25。桥面板厚12mm,底板与斜腹板的厚度为10mm。钢箱梁每4m设一道横隔板。虎门大桥悬索桥钢箱梁共划分为39节段,标准段重约300t,采用卷扬机提升跨缆吊机及液压跨缆吊机吊装钢箱梁,节段之间采用全断面焊接连接。
梁端设置滚动式竖向支座及横向抗风支座,以分别承受梁端竖向反力和水平反力。
搜图
编辑
3 主要技术特点和创新点
虎门大桥悬索桥是我国第一座真正意义上的大规模现代化悬索桥,该工程的主要新技术与创新点为:
(1) 开发了一套完整的现代悬索桥结构分析程序;通过试验研究和工程实践,建立了系统而完整的悬索桥上部构造施工监测与控制技术;
(2) 通过我国最大尺度的气弹性风洞试验,对施工期间与成桥后的抗风性能进行了分析,验证了设计参数,提出了钢箱梁拼装过程中安全渡台风的技术措施,保证了大桥的抗风稳定性。
(3) 在国内率先采用扁平钢箱梁节段间全焊接的结构形式,解决了在箱梁吊装情况下的焊缝间隙调整工艺和焊接技术。
(4) 首次在国内成功设计、制作、架设了每股127丝的大型预制索股及大型铸焊组合型主、散索鞍。
(5) 首次在我国桥梁基础中采用地下连续墙防水技术,解决了悬索桥西塔基础岩面严重不平的技术难题;
(6) 研制出高水平的悬索桥施工专用设备,研制成功特大钢箱梁吊装的液压千斤顶提升式跨缆吊机和紧缆机等
其获奖项目如下:
①《 虎门大桥》荣获第二届詹天佑土木工程大奖。
②《虎门大桥CH-150型架桥机》项目获1997年广东省科学技术进步三等奖。
③《虎门大桥建设成套技术》项目2001年荣获国家科学技术进步奖二等奖。
④《虎门大桥建设成套技术》项目于1999年荣获交通部科学技术进步奖一等奖。
⑤虎门大桥荣获1999年度交通部公路工程优质工程一等奖。
⑥虎门大桥东锚深开挖与防护技术荣获1997年广东省科学技术进步三等奖
⑦液压提升跨缆吊机荣获1996年广东省科学技术进步二等奖
“土筑虎找活”APP,专为建筑工人找工作、找活干!
钢筋工、架子工、抹灰工……60多种工种,工种齐全,
海量建筑工地招工找活信息,智能定位,一键刷新附近岗位,随时随地快速上工!
每天更新、放心靠谱,打开手机应用商店搜索“土筑虎找活”APP,即可下载使用!
虎门大桥的建设单位,设计单位,施工单位是谁?
虎门大桥位于广东省广州市东南约42km,坐落于鸦片战争古战场的遗址上,横跨珠江出海口东西两岸,是连接珠江两岸及粤东、粤西的重要交通枢纽,是沟通港、澳及广东沿海的一座特大型桥梁。由跨越主航道的主跨888m的悬索桥、跨越辅航道的主跨270m的预应力混凝土连续钢构桥和东、中、西引桥组成,还包括隧道3座,全长4606m。
建设单位:广深珠高速公路虎门大桥有限公司
设计单位:主桥工程由交通部公路规划设计院设计;东、西引道由交通部第二公路勘察设计院(设计)
施工单位:广东省长大公路工程有限公司
混凝土用量:848 272.5m3
钢材用量:111 087.9t
造 价:29.4亿元
建成日期:1997年4月28日竣工。
桥位东、西两岸为丘陵区,江面宽3400m,江心有三岛,北为上横挡岛,南为下横挡岛,西北为大虎岛;桥位属热带海洋性气候,年平均气温为22℃,年平均降雨量为1669mm,夏季受台风影响;主航道水深约30m左右,辅航道水深一般为6m~10m,深槽为15m;主航道江底除岩石暗礁外,沉积有砂岩、卵石,在虎门大桥东塔以东侧地基为粉砂岩和石英砂岩,西侧为中细粒黑云母花岗岩;辅航道江底较平坦,表层为细砂、砂砾所覆盖。
虎门大桥为六车道平原微丘高速公路特大桥,设计速度120km/h;桥位处20m高百年一遇10min平均最大风速值为50.2m/s,桥位处设计风速为61m/s;地震烈度六度按七度设防。通航净空:主航道:60m × 300m(高×宽)设计通航5万吨级.
2 主桥结构
虎门大桥主航道桥为跨径888m的单跨双铰加劲钢箱梁悬索桥。桥跨布置为302+888+348.5m。
(1)、索塔
索塔基础根据不同的地质条件,东塔选用上、下分离式的群桩基础,每个塔柱下由16根Ф2.0m的钻孔灌注桩组成,西塔上游采用平面尺寸为12m×16m的扩大基础,下游采用12根Ф2.0m的钻孔灌注桩。
索塔塔身采用门式框架结构,由两侧塔柱及中间的三道系梁组成,塔柱为钢筋混凝土空心薄壁结构,系梁为预应力混凝土空心薄壁结构。桥面以上89.86m,基顶以上147.55m,高跨比1/6。
东塔采用翻转模板施工,西塔采用电动爬架拆翻模施工,系梁采用膺架法施工。东、西两塔施工后跨径差<8mm,相对精度为1/111000。
(2)、锚碇
东、西锚碇形式均为重力式锚碇,东锚碇基础为明挖扩大基础,基础下为泥质砂岩,设计摩阻系数为0.4,设计控制主缆拉力为2×172 600kN,使用混凝土4.4万方。西锚碇为采用地下连续墙方法施工的圆形扩大基础,基础为花岗岩。设计摩阻系数为0.6,抗滑安全系数2.3,设计控制主缆拉力为2 x×174 400kN,使用混凝土7.5万方。采用型钢锚固系统。
(3)、主缆和吊索
单根主缆由110束预制索股组成(每束预制索股为127丝Ф5.2mm高强镀锌钢丝平行集束组成正六角形),在索夹处断面直径为678.7mm,索股平均长度为1634m,全桥共用镀锌高强钢丝7638t,其中一半是使用江苏江阴钢丝厂研制的。80%的索股在现场制作,然后直接牵引上桥架设。索股两端为锌、铜合金灌注的热铸锚。每根主缆分四段进行防护。两岸锚跨及主鞍座部分用抽湿技术,外露部分用缠丝、涂料等七层防护。主缆矢跨比为1/10.5。主缆索股以前锚方式直接与型钢拉杆锚固,用钢垫板微调长度。
吊索在全桥的布置型式为平行竖直吊索,每个吊点由四根Ф52mm的优质金属芯镀锌圆股钢丝绳组成,吊索与主缆的连接采用背骑式,吊索通过主缆上的索夹槽口骑越主缆,锚于钢箱梁风嘴内。
(4)、主索鞍、散索鞍、索夹
主索鞍、散索鞍由主(散)索鞍本体、上、下支承板、安装板(底座)、隔板、拉杆等部件组成,主(散)索鞍本体为铸焊组合件,由鞍槽及鞍座两部分组成,鞍槽为铸钢件,鞍座为厚钢板焊接件。主索鞍本体顺桥向分成两个半块,以减轻吊装重量,安装就位后用螺栓连整体。
索夹设计成马鞍形,每个索夹由两个半块铸钢件组成,在主缆上左右对合后以螺杆和螺母将其连成整体,紧固于主缆之上,其中高强螺栓用新研制的压扭液压扳手紧固,并专门制定了轴力管理规程,进行索夹摩阻模型试验。全桥索夹分6种类型,一类为紧靠索鞍的封闭索夹,一类为边跨主缆索夹,中跨索夹分成4类,以适应主缆与吊索之间不同的夹角。
(5)、加劲钢箱梁、支座
加劲梁截面形式为U型加劲肋正交异性板桥面的扁平闭口流线型的单箱单室截面,箱梁全宽(包括风嘴)为35.6m,梁高3.012m,桥面设2%的双向横披。梁的高跨比为1/295,宽跨比1/25。桥面板厚12mm,底板与斜腹板的厚度为10mm。钢箱梁每4m设一道横隔板。虎门大桥悬索桥钢箱梁共划分为39节段,标准段重约300t,采用卷扬机提升跨缆吊机及液压跨缆吊机吊装钢箱梁,节段之间采用全断面焊接连接。
梁端设置滚动式竖向支座及横向抗风支座,以分别承受梁端竖向反力和水平反力。
搜图
编辑
3 主要技术特点和创新点
虎门大桥悬索桥是我国第一座真正意义上的大规模现代化悬索桥,该工程的主要新技术与创新点为:
(1) 开发了一套完整的现代悬索桥结构分析程序;通过试验研究和工程实践,建立了系统而完整的悬索桥上部构造施工监测与控制技术;
(2) 通过我国最大尺度的气弹性风洞试验,对施工期间与成桥后的抗风性能进行了分析,验证了设计参数,提出了钢箱梁拼装过程中安全渡台风的技术措施,保证了大桥的抗风稳定性。
(3) 在国内率先采用扁平钢箱梁节段间全焊接的结构形式,解决了在箱梁吊装情况下的焊缝间隙调整工艺和焊接技术。
(4) 首次在国内成功设计、制作、架设了每股127丝的大型预制索股及大型铸焊组合型主、散索鞍。
(5) 首次在我国桥梁基础中采用地下连续墙防水技术,解决了悬索桥西塔基础岩面严重不平的技术难题;
(6) 研制出高水平的悬索桥施工专用设备,研制成功特大钢箱梁吊装的液压千斤顶提升式跨缆吊机和紧缆机等
其获奖项目如下:
①《 虎门大桥》荣获第二届詹天佑土木工程大奖。
②《虎门大桥CH-150型架桥机》项目获1997年广东省科学技术进步三等奖。
③《虎门大桥建设成套技术》项目2001年荣获国家科学技术进步奖二等奖。
④《虎门大桥建设成套技术》项目于1999年荣获交通部科学技术进步奖一等奖。
⑤虎门大桥荣获1999年度交通部公路工程优质工程一等奖。
⑥虎门大桥东锚深开挖与防护技术荣获1997年广东省科学技术进步三等奖
⑦液压提升跨缆吊机荣获1996年广东省科学技术进步二等奖
来源:网络,侵之即删!
“土筑虎找活”APP,专为建筑工人找工作、找活干!
钢筋工、架子工、抹灰工……60多种工种,工种齐全,
海量建筑工地招工找活信息,智能定位,一键刷新附近岗位,随时随地快速上工!
每天更新、放心靠谱,打开手机应用商店搜索“土筑虎找活”APP,即可下载使用!
相关问答
伸缩缝施工方案_建筑界首页资讯问答资料直播招聘创作者中心登录首页>问答>问答详情装修问答伸缩缝...伸缩装置安装时,应在监理工程师的认可下方可进行。3、伸缩装置吊装就位前,应...
