【便民】夏季家电维修服务走进奉贤社区,维修家电请认准“正规军”!
2019年夏季家电维修服务进社区宣传活动·奉贤分会场
便 民
服 务
每年盛夏期间是各类制冷电器使用的高峰期,市民家电维修需求难以得到及时、有效的保障,为确保广大市民安然度夏,由上海市商务委牵头开展以“高峰时节家电维修服务市场保障暨夏季家电维修防范‘李鬼’” 为主题的主会场宣传活动,各区商务委纷纷响应号召开展分会场活动,向广大市民宣传家电维修的“正规军”,防范家电维修“李鬼” 。
7月11日上午,奉贤区经委联合南桥镇人民政府在江海花园社区活动中心小广场上开展了“2019年夏季家电维修服务进社区宣传活动奉贤分会场”活动。 现场向市民朋友们宣传了本市家电维修的“主渠道”:
找“一台三会”
●上海家电服务热线平台
●上海交电家电商业行业协会
●上海家用电器行业协会
●上海电子产品维修服务行业协会
同时发放了宣传手册,包含了本市162个品牌家电生产厂商售后维修服务电话以及本市各区507家正规家电维修服务企业名单 ,消费者可以通过12345市民服务热线和市商务委官网等相关信息渠道进行查询使用。
活动现场,我们还邀请了已扎根奉贤、从事家电维修服务20多年的“户德利”专业维修人员,现场为小区居民维修小家电,并宣传家用电器使用的有关小知识。 很多叔叔阿姨直接从家里拿来了不能正常使用的小家电,在活动的一个半小时内,共修理了20多件小家电,受到小区居民的热烈欢迎。
目前,全市已有16000余名持有统一上门服务证的家电维修服务人员,本次向社会推荐的正规服务企业都必须明示收费标准,不得随意增加收取费用 ,全力为市民提供规范的维修服务。请广大市民朋友们一定要找到维修“正规军”,防范“李鬼”。
清单
品牌家电维修售后服务信息
1
厨卫电器
2
空调
3
冰箱
4
洗衣机
5
彩电
6
小家电
7
水家电
上海市家电维修服务行业
推荐企业名单(奉贤)
来源:奉贤企业直通车
编辑:小嶋
往期精彩
关注 夏季家电维修服务走进奉贤社区,维修家电请认准“正规军”!
奉贤企业直通车
点击上方蓝色文字 可一键关注
本公众号(jwqyfw)是奉贤区服务企业联席会议办公室的官方微信,由区中小企业服务中心负责管理。
-67156715我们的政策服务平台:
奉贤区产业发展扶持政策申报服务平台 (http://fxcy.67156715.com/),欢迎注册并使用。
2019年夏季家电维修服务进社区宣传活动·奉贤分会场
便 民
服 务
每年盛夏期间是各类制冷电器使用的高峰期,市民家电维修需求难以得到及时、有效的保障,为确保广大市民安然度夏,由上海市商务委牵头开展以“高峰时节家电维修服务市场保障暨夏季家电维修防范‘李鬼’” 为主题的主会场宣传活动,各区商务委纷纷响应号召开展分会场活动,向广大市民宣传家电维修的“正规军”,防范家电维修“李鬼” 。
7月11日上午,奉贤区经委联合南桥镇人民政府在江海花园社区活动中心小广场上开展了“2019年夏季家电维修服务进社区宣传活动奉贤分会场”活动。 现场向市民朋友们宣传了本市家电维修的“主渠道”:
找“一台三会”
●上海家电服务热线平台
●上海交电家电商业行业协会
●上海家用电器行业协会
●上海电子产品维修服务行业协会
同时发放了宣传手册,包含了本市162个品牌家电生产厂商售后维修服务电话以及本市各区507家正规家电维修服务企业名单 ,消费者可以通过12345市民服务热线和市商务委官网等相关信息渠道进行查询使用。
活动现场,我们还邀请了已扎根奉贤、从事家电维修服务20多年的“户德利”专业维修人员,现场为小区居民维修小家电,并宣传家用电器使用的有关小知识。 很多叔叔阿姨直接从家里拿来了不能正常使用的小家电,在活动的一个半小时内,共修理了20多件小家电,受到小区居民的热烈欢迎。
目前,全市已有16000余名持有统一上门服务证的家电维修服务人员,本次向社会推荐的正规服务企业都必须明示收费标准,不得随意增加收取费用 ,全力为市民提供规范的维修服务。请广大市民朋友们一定要找到维修“正规军”,防范“李鬼”。
清单
品牌家电维修售后服务信息
1
厨卫电器
帅康
4007001111
申花
58353030、22817818
能率
4009881998
阿里斯顿
4008323232
海尔
4006999999
苏泊尔
4008871166
林内
4006990606
TCL
4008123456
樱花
4001666668
普田
4006575268
万家乐
4007003888
万和伊莱克斯(燃气)
4008308383
西门子
4008899999
法罗力伊莱克斯(电)
4001000188
方太
4000315315
安吉尔
4007003339
艾欧史密斯
4008288988
水仙
56632140
博世燃气
4008206017
松下
4008100781
老板
95105855
美的
4008899315
华帝
4008886288
格兰仕
400830333
2
空调
志高/现代
4006757888
海尔
4006999999
格力
4008365315
松下
4007008881
美的
4008899315
春兰
4008281888
长虹/美菱
4008111666
奥克斯
4008268268
三菱电机
4008205830
8008205830
新科
4001890315
大金
4008201081
8008201081
LG
4008199999
科龙·海信
4006111111
三菱重工
4007003030
东芝
8009880208
格兰仕
4008300888
惠而浦
4008365365
伊莱克斯
95105801
日立
4006203328
夏普
4008981818
富士通
4006051818
TCL
4008123456
康佳
4008800016
新飞
4006098888
双鹿·上菱
4007201111
索伊
4008202696
三星
4008105858
荣事达
4006862315
3
冰箱
新飞
4006098888
美菱
4008111666
荣事达
(2013年前产品)
4008899111
TCL
4008123456
荣事达惠而浦、 三洋帝度
95105696
4008899360
科龙·容声·海信
4008099999
松下
8008100781
东芝
4008886666
小天鹅
4008228228
博世
4008855888
夏普
4008981818
康佳
4008800016
西门子
4008899999
威力
4006315006
三星
4008105858
双鹿·上菱
4007201111
LG
4008199999
尊贵
4008201854
海尔
4006999999
索伊
4008202696
伊莱克斯
95105801
中日
4006201306
日立
4006203328
格兰仕
4008300333
日立(进口)
4006902885
4
洗衣机
海尔
4006999999
博世
4008855888
惠而浦
95105696
双鹿·上菱
4007201111
松下
8008100781
TCL
4008123456
小天鹅
4008228228
康佳
4008800016
夏普
4008981818
水仙
56632140
西门子
4008899999
科龙
4008099999
三星
4008105858
威力
4006315006
LG
4008199999
尊贵
4008201854
伊莱克斯
95105801
中日
4006201306
日立
4006203328
格兰仕
4008300333
东芝
4008886666
荣事达
(20 13年前产品)
4008899111
新飞
4006098888
5
彩电
TCL
4008123456
夏普
4008981818
创维
95105555
4008665555
东芝
4006001000
海尔
4006999999
长虹
4008111666
三星
4008105858
海信
4006111111
索尼
40081090000
飞利浦
4008800008
松下
4008100781
新科
63122643
SVA
64168108
三洋
4001111666
日立
4008899591
康佳
4008800016
LG
4008199999
6
小家电
东芝
4006288899
格兰仕
4008300333
奥普电器
4001991999
格力
4008365315
艾美特
4008860315
海信
4006111111
美的
4008899315
红心
4006019430
苏泊尔
4008871166
小绵羊
56654677
奔腾
4008204567
舒乐
65899498
海尔
4006999999
小白象
67626567
飞利浦
4008800008
森中
8009881283
三星
4008105858
松下
8008100781
九阳
4006186999
夏普
4008981818
LG
4008199999
水仙
56632140
TCL
4008123456
伊莱克斯
95105801
7
水家电
开能
4008201199
58599999
水成
4009922557
水管家(申花)
58353030
君阁
4007288128
51602088
3M
8008205035
森乐
4001801568
正辉康居
4000781882
英尼克
4000211619
滨特尔
8008206671
朴道
4008210690
浩泽
4008202667
史密斯
95105950
飞利浦
4008800008*1*3*9
安吉尔
4007003339、95182
伊美特
4008205617
美的
4008899315
东利
4008207288
海尔(上海)
4006999999
氢泉
4008216895
66270805
芯园
4008885263
4006722266
可滤康
4009200207
62277800
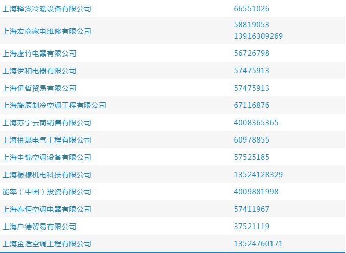
上海市家电维修服务行业
推荐企业名单(奉贤)
上海释滋冷暖设备有限公司
66551026
上海宏商家电维修有限公司
58819053
13916309269
上海虚竹电器有限公司
56726798
上海伊和电器有限公司
57475913
上海伊哲贸易有限公司
57475913
上海旖辰制冷空调工程有限公司
67116876
上海苏宁云商销售有限公司
4008365365
上海祖晟电气工程有限公司
60978855
上海申锦空调设备有限公司
57525185
上海振棣机电科技有限公司
13524128329
能率(中国)投资有限公司
4009881998
上海春恒空调电器有限公司
57411967
上海户德贸易有限公司
37521119
上海金适空调工程有限公司
13524760171
长按并识别下方二维码 ,关注我们的公众号
相关问答
上海市 奉贤区 四团镇哪里有修理家用电器的?_住范儿家装官网地球2号热带3马虎4床5螺丝帽笑翠鸟的吹牛8鱿鱼9降落伞....../>10海城四团街上有好几家,你去看下就知道了奉贤区四团宝国电器修理部电...
日本品番:ES-Lv50电动胡须刀 上海哪里有 维修 ?以下维修部都可以维修。1。上海茸岳电器有限公司主营:脱毛器剃须刀电吹风空气净化器加湿器电熨斗维修地址:松江区人民北路民乐小区17号。2。青浦慧科...
美的 家电 上海 维修 网点在哪里, 电话1上海闸北区为民家电维修店闸北区虬江路1141号021-56975069021-569750692上海剑胜电器服务有限公司(原天宇)祁连山路2192号A区109室021-561...
飞利浦剃须刀修理点大全-ZOL问答飞利浦剃须刀在全国范围内设有维修点,包括上海、北京和深圳。本文将重点介绍上海、北京和深圳的飞利浦剃须刀维修点,并提供了相关联系方式和地址。此外,还会为...
奉贤 哪里买电脑?现在已没有电脑城了,有点大的只有南中路文化广场旁的国徽电脑。买品牌机还是去永乐、苏宁家电卖场吧,价钱比所谓的电脑城便宜。现在已没有电脑城了,有点大的...
上海 小家电维修 店在哪1上海闸北区为民家电维修店闸北区虬江路1141号021-56975069021-569750692...3上海象成设备安装有限公司奉贤南侨镇育秀路399号021-6711547902...
上海小天鹅洗衣机 维修点 在哪里[回答]比如:上海宜致家电技术服务有限公司上海普陀区中山北路1295号上海心维家电技术服务有限公司松江区车墩镇北松公路华...!上海小天鹅洗衣机维修点...
上海苏宁电器所有门店地址是多少?- 安居客房产问答1.苏宁电器真北路店真北路1263号2.苏宁电器蕴川路店蕴川路1555号3.苏宁电器友谊路店友谊路199号4.苏宁电器延长中路店延长中路576号5.苏宁...
上海苏宁电器各分店的 电话 是多少?[回答]可以打本地114查号台查寻啊!!!·苏宁电器(三门路店)宝山区吉浦路521号(靠近三门路)·苏宁电器(浦东大道店)浦东新区浦东大道2554号·苏宁电器(...
二手房交易详细流程有什么?如何购买二手房?-幸福里问答幸福里为您提供"二手房交易详细流程有什么?如何购买二手房?"的专业解答,收集各类观点,以更多视角为您解答疑惑,咨询更多房产问题,来幸福里问答
