小家电自己也能修!景华社区举办家电维修培训
深圳商报·读创客户端记者 罗凯燕 通讯员 邵文丽
小家电坏了怎么办?自己动手也能修!近日,由莲花街道办事处、莲花街道景华社区党委以及莲花街道景华社区党群服务中心联合主办的家电维修培训服务热闹开锣。活动不仅让居民在家门口就能享受便捷的维修服务,还让感兴趣的居民能够学习实用技能,服务自己和他人。截止目前,该项活动已经累计为社区居民提供过百次维修和培训服务。
据悉,该活动以”理论+实操+后期定点免费维修”的形式展开,不仅教授居民们基础的小家电维修知识,还通过实际操作让参与者能够亲身体验维修过程,从而更好地掌握维修技能。为了确保培训效果的持续性,主办方还提供了后期定点免费维修服务,进一步巩固培训成果,确保居民在遇到家电维修问题时能够得到及时的帮助。
活动期间,莲花街道景华社区党委书记王正鹏亲自上阵指导居民维修家电,并分享了个人的环保经验和维修心得,鼓励大家从日常小事做起,共同构建绿色和谐的社区环境。 他表示,家电维修服务虽小,但能够解决居民们的实际困难,更能够增强社区的凝聚力和向心力。未来,景华社区将继续深化“小家电维修进社区”等志愿服务活动,不断创新服务模式和方法,为居民提供更加贴心、周到的服务。
家用电焊机的原理,自己制作简易电焊机
电焊机
是利用正负两极在瞬间短路时产生的高温电弧来熔化电焊条上的焊料和被焊材料,来达到使它们结合的目的。结构十分简单,就是一个大功率的变压器,电焊机一般按输出电源种类可分为两种,一种是交流电源的;一种是直流电的。系利用电感的原理做成的,电感量在接通和断开时会产生巨大的电压变化,利用正负两极在瞬间短路时产生的高压电弧来熔化电焊条上的焊料,来达到使它们结合的目的。
1. 通常变压器的次级输出不能短路,而电焊变压器则是在短路状态下工作。 2. 普通变压器在带负载运行时,其次级电压随负载变化很小,而电焊变压器则要求在焊接时具有一定的起弧电压45V~75 V。在焊接电流增大时,输出电压就迅速下降到20V~40V。 3. 普通变压器的初级和次级绕组是同心地套在一个铁芯柱上,而电焊变压器的初级和次级绕组则分装在两个铁芯柱上(或外加漏抗器)。 日常生活中,有时需短时应急焊接,制作一台简易家用电焊机便可解决问题。下面是家用220V 8KW左右电焊机的两种制作方法:
方法一:选用截面积为40cm2左右的口字形硅钢片铁芯柱,绕组 分别绕于口字铁芯的2个柱上,初级线圈用φ2mm的纱包铜线,在其中一个柱上绕330匝(接220 V交流电用),次级用2mm×6mm 扁铜线(俗称铜排)绕102匝得空载电压68V,供焊接用,分2半,一半绕在初级线圈上(与次级线圈间加隔绝缘层),另一半绕在另一个柱上。铜线的层与层之间要用绝缘片隔开一定空间以利散热,必要时,可根据风扇规格(电压、交直流等)加接风扇。如上图1所示。
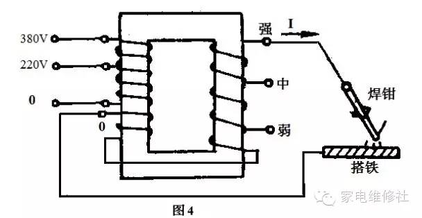
方法二:选用截面积为40cm2左右的口字形硅钢片铁芯柱,绕组分别绕于口字铁芯的2个柱上,初级线圈用φ2mm的纱包铜线,在其中一个柱上绕330匝(接220 V交流电用),次级用2mm×6mm扁铜线(俗称铜排)在初级线圈上加隔绝缘层后绕40匝,转到另一个柱上绕35匝抽头为“弱”档,空载电压为50V,再绕15匝抽头为“中”档,空载电压为60V, 再继续绕15匝抽头为“强”档,空载电压为70V。铜线的层与层之间要用绝缘片隔开一定空间以利散热,必要时,可根据风扇规格(电压、交直流等)加接风扇。如下图2所示。 另外,还可在220V的一端用φ1.5mm的纱包铜线继续串绕278 匝用于接380V(共608匝),次级匝数可不变。如图下3、图4所示。此时,图3中的空载电压将降为63.75 V,图4中的“弱”档空载电压将降为46.875 V,“中”档空载电压为56.25V,“强”档空载电压为65.625V。
上述家用电焊机初级空载电流在1A左右,空载损耗一般约为 200W。使用中注意电焊机的温升,常用手触摸一下线圈温度不宜超 过60℃,若有明显温升,应停止工作,让其自然冷却一会再使用。
电焊机的主要功能是焊接。但我在多年的设计、制造、使用中探索出该机的多项其他用途。现将部分技巧简述如下:
(1)在机电设备维修时往往遇上旧设备螺丝拧不动,在这种情况下电焊机就能帮上大忙。方法是:将电焊机的电流调成最大,电压调到最低。用电焊机地线接外壳,用电焊钳子挟住一块碳精棒接要拧的螺丝上。通电几分钟到螺丝发热发红即停机趁热滴上点机油或其它油,,待螺丝凉透后一拧即掉。
(2)在电机电器维修中遇到铜线、铜排等特殊的部件,部位不能用明火焊接(气焊)时,可用电焊机低电压,电流经调整后通过碳棒接到焊接部位上,可用银焊片或磷铜、焊锡等加助剂进行焊接,也可使铜线自身焊接。
(3)在电机维修换线圈时,可用电焊机的低电压大电流进行定转子线圈的烘干、排潮,以替代烘干箱。
做法:将电机端盖卸掉抽出转子,把电机定子线圈抽头,如abc(头)接在一起,def(尾)接在一起,接通电焊机二次电源,再调电焊机的电流大小控制电机定子线圈的温度,也可把转子插入定子线圈以调节线圈温度。此方法升温快、湿度均匀、不择场地,是节时、节能、省力的措施。
支持我们请点赞或转发 版权免责声明:联盟致力于好文共享,推送文章部分源于网络,版权归原作者所有,若涉及版权问题,烦请原作者联系我们,我们会在24小时内删除处理,谢谢!相关问答
家电维修 怎么自主接单?通过以下步骤接单:1.注册58同城账号,并完善个人信息,包括联系方式、技能、服务范围等;2.在58同城上搜索维修需求,并确认自己的技能和服务范围符合需求;...
家电 坏了自己修吗?如果不懂电路基本常识,最好是送电器修理店修理。如果不懂电路基本常识,最好是送电器修理店修理。
做售后服务的以后可不可以自己开店搞 家电维修 ?我来回答一下吧,我是搞维修的,你如果打算做这个,绝对行得通.但是,维修挣不了几个钱,也就是说,发不了家,但它能够养活家人.可以用它作靠山去开一个专卖店.这样...
如果自己学的是 家电维修自己 家里的洗衣机坏了能自己修好吗?如果你有一定的家电维修技能并且了解洗衣机的工作原理,那么修理自家的洗衣机可能是可行的。但是,如果你对家电维修不熟悉或者不确定问题出在哪里,最好还是请专...
零基础想自学 家电维修 ,有什么好的建议吗?农村家电维修有市场吗?零基础想自学家电维修,有什么好的建议吗?农村家电维修有市场吗?该怎么做?首先七星老农可以明确的告诉你,农村家电维修市场非常的大,只是你零基础恐怕难以...零...
洗衣机 维修 私人怎么接单?洗衣机维修私人接单的方法很多:1、去小区挨家挨户发传单扩大接单率;2、每个小区坐修两天,讲解洗衣机知识,并发维修服务卡;3、与卖洗衣机商联系售后服务处...
家电维修 怎么在网上接单?可以开个淘宝店,通过发布宝贝,并描述清楚哪些方面的维修,然后引流,如果有需要的人看到,觉得你还行就可以下单了发布抖音一类的自媒体发布相关信息,特别是...
家电维修 是找售后还是自己找人好?对于家电维修问题,应该根据具体情况来决定是找售后还是自己找人进行维修。以下是一些参考意见:1.保修期内建议找售后:如果家电还在保修期内,建议找品牌售后...
厨电安装售后师傅怎么做自媒体?厨电安装售后师傅必须能做自媒体,而且做视频内容会比文章还要好做,自媒体第一步“定位”已经有了!而且素材也非常好采集。咱们简单的分析一下,希望我的回答...
我对任何电器修理都感兴趣,也比较懂,包括电脑,做什么工作比较好,或者是学什么, 自己做 什么?喜欢电脑的话可以学软件开发这个专业,E-BOSS高级商务这个专业也很不错。喜欢电脑的话可以学软件开发这个专业,E-BOSS高级商务这个专业也很不错。
