北斗街135号家电维修 为大湾区再注新动能——广州南沙从地理几何中心走向区域功能中心
为大湾区再注新动能——广州南沙从地理几何中心走向区域功能中心
新华社广州6月19日电 题:为大湾区再注新动能——广州南沙从地理几何中心走向区域功能中心
新华社记者
俯瞰粤港澳大湾区,广州市南沙区位于其地理几何中心。自1993年5月广州南沙经济技术开发区设立以来,经过近30年发展,南沙已发展成为区域功能中心。
粤港澳大湾区建设,是习近平总书记亲自谋划、亲自部署、亲自推动的重大国家战略。深圳前海、广州南沙、珠海横琴是大湾区引领带动粤港澳全面合作的三大重要平台。近日,国务院印发《广州南沙深化面向世界的粤港澳全面合作总体方案》,广州南沙迎来重大发展机遇。
徐徐起势 科创引领
5月27日,人工智能公司云从科技在上交所上市,这是广州南沙本土培育的首家科创板企业。依靠粤港澳大湾区市场,公司发展迅速,研发了100余项自主可控的全链AI技术。
工作人员在南沙云从科技展厅演示“智慧航显”应用场景(6月15日摄)。新华社记者刘大伟摄
工作人员在南沙云从科技展厅演示“校园一脸通”应用场景(6月15日摄)。新华社记者刘大伟摄
云从科技从无到有、由弱到强的发展历程,正是大湾区加快建设的生动注脚。2021年,粤港澳大湾区经济总量约12.6万亿元人民币,比2017年增长约2.4万亿元人民币;进入世界500强企业25家,比2017年增加8家;广东省现有高新技术企业超6万家,其中绝大部分都在粤港澳大湾区,比2017年净增加了2万多家。
广州南沙是大湾区重大合作平台之一。随着大湾区的建设,广州南沙步入快速发展期。《粤港澳大湾区发展规划纲要》提出打造广州南沙粤港澳全面合作示范区,共建创新发展示范区。
规划目标正在变成现实。全区已集聚400余家人工智能企业,其中的广州宸境科技有限公司致力于空间智能开发。“选择在南沙创业正是看中了当地在人工智能领域已形成的产学研集聚优势。”公司联合创始人曹田甜说。
基础科研是南沙区和大湾区发展中的短板。近年来,随着众多高端科研机构的聚集,南沙开始成为大湾区突破基础科研瓶颈的重要支撑。从基础科学到前沿科技,从庆盛科技创新产业基地到规划99平方公里的南沙科学城,一批大院、大所、大科学装置已进驻。
与广州南沙中国科学院明珠科学园一路之隔的科苑壹号是南沙首个专门为中科院等科研单位打造的人才安居项目(6月15日摄,无人机照片)。新华社记者刘大伟摄
中科院明珠科学园首期工程即将收官;历时3年建设的香港科技大学(广州)将于今年9月招生;南方海洋科学与工程广东省实验室(广州)已汇聚16个院士团队……
“南沙的科创已经起势,展现出强劲的后发优势。”中山大学自贸区综合研究院院长符正平说,建设科技创新产业合作基地就是此次总体方案提出的五大重要任务之一。
当前,粤港澳大湾区正以广深港、广珠澳科技创新走廊为依托,加快建设国际科创中心。南沙处于广深港、广珠澳科技创新“人字形”走廊交汇点,是大湾区综合性国家科学中心主要承载区。
香港科技大学霍英东研究院院长高民2007年来到南沙,当时一片荒芜的南沙如今已耸立起栋栋孵化器、创新工场。“随着国际化人才特区加快建设,高层次人才纷至沓来。过去很多人要送小孩到中心城区上学,现在南沙引入了优质教育、医疗资源,解决了人才的后顾之忧。”他说。
科创蓄力推动南沙经济实现高质量快速跃进。“十三五”期间,南沙地区生产总值由2015年的1063.23亿元增长至2020年的1846.11亿元,年均增速9.6%以上。面对近年外部挑战和新冠疫情冲击,南沙依然取得不俗成绩。立足新发展阶段,南沙出台政策力求创新链、产业链、资金链、人才链等“四链”深度融合,推动创新发展迈出新步伐。
通江达海 牵手世界
6月1日,以航天产品研发为主业的中科宇航探索技术有限公司正式迁入广州南沙。选址南沙的考量,除了当地发力深空产业的政策支持,还有得天独厚的区位优势。火箭在南沙产业基地生产出厂后,无论是走海运发往海南发射场,还是执行海上发射任务,都能大大提高火箭产品的运输效能。
改革开放40多年来,广州城市发展,以珠江为轴带,一路“东进”“南拓”。2005年4月设立南沙区,广州从滨江迈向滨海,由江入海开启城市发展新格局。作为全市唯一出海通道,南沙成为连接珠三角城市群的重要枢纽性节点。
南沙距香港38海里、澳门41海里,方圆100公里内汇聚了粤港澳大湾区全部11座城市以及广州机场、深圳机场、香港机场等繁忙的国际空港。地理几何中心代表了城市的先天禀赋,但需要不断完善航运、空运、铁路、地铁等基础设施,才能让南沙转变为交通中心,进而成长为功能中心。
中铁大桥局建设的南(广州南沙)中(中山)高速公路洪奇门特大桥主桥开始架设钢箱梁(6月15日摄,无人机照片)。新华社记者刘大伟摄
大湾区建设以来,南沙加速构建粤港澳大湾区“半小时交通圈”。广州地铁18号线首通段开通运营,南沙大桥、明珠湾大桥通车,从庆盛站乘高铁,35分钟可直达香港西九龙。随着将来深中通道南沙支线、狮子洋通道、广中珠澳高铁等建成通车,广州南沙协同港澳共建高水平开放门户的基础将更加坚实。
南沙港四期全自动化码头(6月16日摄,无人机照片)。新华社记者 卢汉欣 摄
南沙港,世界最繁忙的港口之一。2021年,南沙港集装箱吞吐量完成1766万标准箱,开辟了135条外贸航线。在基于北斗导航而建的南沙港四期全自动化码头,几乎看不到工人忙碌,只有自动运行的机械。
南沙港铁路的跨江铁路桥(6月16日摄,无人机照片)。新华社记者 卢汉欣 摄
广州港集团副总经理宋小明说,去年底南沙港铁路开通,打通了海铁公联运“最后一公里”,中欧班列逐步增多,大大提高南沙“链”接全球的能力。
这是中国(广东)自由贸易试验区广州南沙新区片区(6月16日摄,无人机照片)。新华社记者 卢汉欣 摄
买全球、卖全球——通联内外的开放门户让南沙成长为跨境电商发展高地。目前累计有约600家企业在南沙备案开展跨境电商业务。今年1月至5月,跨境电商进出口值约150亿元,同比增长约87%。
货畅其流,人畅其行。在国际经贸舞台上,南沙显示度不断提升,一个新的国际交往平台正在搭建。大湾区科学论坛永久会址正在筹建,国际金融论坛(IFF)全球年会连续举办。南沙将进一步融入区域和世界经济,构筑大湾区对接“一带一路”建设的国际经济合作新平台。
改革攻坚 试验示范
从事贸易行业的于崇刚曾是南沙口岸大厦的常客,大厦里分布着多个政务部门,办手续、跑流程,从前的来回奔波让他对这座大楼印象深刻。“现在随着数字政务改革落地,智慧海关配套齐全,线上办理业务方便快捷。有一天我路过这座大楼,突然意识到已经3年多没进去过了。”他说。
自挂牌以来,南沙自贸片区累计形成了789项改革创新成果,多项举措在国家和省市层面复制推广。从国家级新区到自贸试验区,从粤港澳全面合作示范区到立足湾区、协同港澳、面向世界的重大战略性平台,南沙在国家发展大局中的战略地位在变化中提升,不变的是南沙区持续的改革试验。
近年来,南沙以深化制度型开放为牵引,探索粤港澳三地规则衔接和机制对接。今年4月,广州南沙粤港合作咨询委员会迎来成立一周年。“咨委会成立后,南沙与香港的合作变得更加紧密。”咨委会香港工作站主任廖霭仪说。
建设全球溯源中心和全球优品分拨中心,社会投资类建设项目“交地即开工”,创立港澳专业人才在内地申请职称评价标准体系……瞄准国际最高标准,今年5月,南沙营商环境创新试点再出发,旨在打造标杆“试验田”。
一辆由小马智行运营的自动驾驶出租车,在广州南沙一个自动驾驶停靠站等待乘客(6月15日摄)。新华社记者刘大伟摄
一辆由小马智行运营的自动驾驶出租车行驶在广州南沙道路上(6月15日摄)。新华社记者刘大伟摄
在无人驾驶领域,小马智行的快速发展离不开南沙区的敢闯敢试。公司副总裁莫璐怡说:“南沙在全国率先发布智能网联汽车道路路测政策,全域开放公开道路测试区,率先发放面向自动驾驶的货运许可,需要勇气和魄力。否则,我们就难以发展成为自动驾驶独角兽企业。”
金融改革是改革攻坚的硬骨头。在上级支持下,南沙稳步推进金融市场互联互通。去年2月,广州期货交易所落地南沙,境外机构首次获准入股内地期货交易所。今年5月,南沙新区片区合格境外有限合伙人(QFLP)境内投资试点落地,被业内誉为“最宽松”试点。
江海交汇春潮涌,更多的改革举措将在南沙试行。
“湾区有大未来,南沙有大机遇。”广州市委常委、南沙区委书记卢一先说,“新定位、新使命对工作提出了新的更高要求。只要坚持在更高起点上推进改革开放,南沙的高质量发展之路定会越走越宽广。”(记者肖文峰、周强、马晓澄、周颖)
獐子岛造假术:成本腾挪造假象 北斗卫星揭开扇贝之谜
獐子岛镇由獐子岛本岛和外三岛(褡裢村、小耗村和大耗村)组成。水何澹澹,山岛竦峙,曾有“黄海明珠”的美誉。背靠岛上昔日唯一的集体企业,岛民们曾经成为改革开放后“先富起来”的那批人。在獐子岛的巅峰时代,这座岛上70%的人都在獐子岛公司工作。
自2014年“冷水团”事件以及后来扇贝接二连三“跑路”至今,这里失去它原有的平静已有6年时间。
就在上个月,獐子岛再次收到来自深交所的23条“灵魂发问”,要求獐子岛解释和回应包括业绩变化、关联关系、负债现状、可持续经营能力等在内的多个问题。面对一连串问题,6月12日,獐子岛给出59页共4万字长文回复,其中,獐子岛对2019年的“受灾”情况再度做出解释,会计师事务所也在回复中为其背书。
这封万字“陈情信”未能帮獐子岛走出质疑。
6月24日,证监会对獐子岛的最终调查结果靴子落地,上市公司被处以顶格处罚,董事长吴厚刚也被采取终身证券市场禁入措施。此前被监管认定而遭公司否认的“造假”,有着怎样的调查故事?延续6年、上演三季的“扇贝传奇”将以怎样的方式全剧终?
近日,新京报贝壳财经记者再度登岛时注意到,上市公司原本建设运行多年的4个扇贝育苗厂已几近停业,原本上百工人的规模目前仅剩下十几个人留守维持唯一的育苗厂运转;为改善业绩,公司已将重心转向了海螺。与此同时,岛民的生活补贴和股份分红均已停止,许多原本安居此地的岛民近年来纷纷外出谋生。与上市公司命运相连的獐子岛镇政府,陷入了资金紧张的境地。
还有潜水员向新京报记者透露,由于资金紧张,獐子岛正在休渔期违规采捕海螺。为避开监管,“潜水船的卫星导航都被拆了。”
反复上演的“扇贝传奇”
“恰逢其时”的业绩变脸
爆发于2014年的“冷水团”只是獐子岛“扇贝传奇”系列故事的序幕。
2018年1月31日,獐子岛公司披露2017年业绩预告修正公告,公司将2017年业绩由预计盈利9000万元至1.1亿元,大幅下调至亏损5.3亿元-7.2亿元。
獐子岛公司表示,公司在进行底播虾夷扇贝年末存量盘点,发现部分海域的存货异常,同时,2017年四季度,底播虾夷扇贝肥满度下降,境外扇贝产品冲击国内市场,对公司扇贝类产品的收入、毛利影响较大,底播虾夷扇贝收入及毛利下滑,部分库存扇贝类产品出现减值。
而仅仅在3个月前的2017年10月24日,獐子岛公司曾披露公告表示,公司对120个调查点位、135万亩海域进行秋季底播虾夷扇贝抽测,结果显示公司底播虾夷扇贝尚不存在减值的风险。
最终,獐子岛公司将2018年1月曝出的这起“扇贝大规模存货异常”事件归因于:降水减少导致扇贝的饵料生物数量下降,养殖规模的大幅扩张更加剧了饵料短缺,再加上海水温度的异常,造成高温期后的扇贝越来越瘦,品质越来越差,长时间处于饥饿状态的扇贝没有得到恢复,最后诱发死亡。
与此同时,根据2018年1-2月进行的2017 年度底播虾夷扇贝的年末存量盘点,獐子岛公司对 2014 年、2015 年及 2016 年投苗的 107.1634万亩底播虾夷扇贝存货成本 5.7757亿元进行核销处理,这也导致獐子岛公司2017年最终亏损7.23亿元。
注:截图自獐子岛公告
扇贝的“二次死亡”,很快引起了证监会关注。当年2月9日,证监会对獐子岛公司展开立案调查。
据了解,证监会当时派遣20余人的调查组到獐子岛镇进行调查,最终发现獐子岛公司通过成本腾挪的手法进行利润调节。
最终,对于獐子岛来说暂停退市的关键年2016年被调节为“盈利年”,而很多2016年的捕捞区域则被划为2017年的“受灾”区域。
调查组登岛求解扇贝之谜
船上导航成调查突破口
对于獐子岛这类水产养殖业上市公司而言,深不可测的海洋天然增加了调查难度。
调查发现,獐子岛公司的每艘作业船只上,都装有北斗导航系统。这一装置的本来用途,是渔政部门为了预防船只在海上相撞而要求配置的。有了北斗导航,每艘船只的航行路线将会一目了然。
能否通过导航得到獐子岛扇贝船实际采捕的面积?调查组立即着手分析了解导航数据包含哪些信息,通过技术手段还原了扇贝捕捞船的航迹图,为确保精确,调查组又聘请了中科宇图科技股份有限公司(下称“中科宇图”)和中国水产科学研究院东海水产研究所两家机构,分别对獐子岛扇贝船只的导航数据进行还原。
结果显示,两家机构经科学分析得出的獐子岛扇贝船采捕轨迹的还原图高度接近,几乎没有差别。与此同时,经技术还原的两张图,与獐子岛公司账面记录的情况相差甚远。
对于证监会的调查手法,吴厚刚曾对媒体表示“不能仅凭一个笼统的脱离生产作业实际而做出的航迹图断定做假”。
獐子岛某高级管理人员也曾对新京报记者表示,“这份由导航数据恢复的采捕图,未必准确,例如,如果我们十艘船里,有五艘是渔船,那么,证监会是否也把这五艘渔船的轨迹算在扇贝采捕里了?”
知情人士透露,证监会此次调查,所用于还原采捕面积的导航数据轨迹全部属于獐子岛公司的扇贝捕捞船,由于不同的作业特征,渔船作业和扇贝捕捞作业船的航行轨迹是不一样的,不是属于扇贝捕捞作业的轨迹,在分析时都已去除。
上述知情人士认为,北斗导航还原出来的轨迹是最真实的,导航客观上记录的数据无法更改,这比任何人工书写或输入的数据都更为准确。“一开始没有人意识到导航数据可用于还原采捕面积的情况,也就没有人想到造假,这样的数据是最真实的。”
在獐子岛一案中,海产养殖行业“肉眼不可测”的天然调查屏障,最终被数十颗导航卫星突破。
提前捕捞造死亡“假象”
暂停上市之年“起死回生”
纵观獐子岛“扇贝传奇”始末不难发现某种巧合:扇贝的命运与关系到公司命运的关键时刻高度重合。
2014年,冷水团事件暴发,上市公司獐子岛在2006年上市后首次发生大规模底播虾夷扇贝死亡事件,同时公司也在上市后首次录得亏损。2014年、2015年,公司连续亏损11.89亿元和2.43亿元。按深交所规定,若公司连续三年亏损,将会被暂停上市;连续四年亏损,将会被终止上市。2016年成为至关重要一年。
根据证监会2019年7月对公司出具的《行政处罚及市场禁入事先告知书》,獐子岛及相关人员涉嫌财务造假、涉嫌虚假记载、涉嫌未及时披露信息等,其中,獐子岛公司通过虚减营业成本等手段导致2016年虚增利润逾1.3亿元,通过虚增营业成本等手段虚减2017年利润逾2.7亿元。
证监会并不认可獐子岛公司2017年度对 107.16 万亩虾夷贝库存进行的核销,其认为,獐子岛盘点未如实反映客观情况,核销海域中,2014 年、2015 年和 2016 年底播虾夷贝分别有 20.85 万亩、19.76 万亩和 3.61 万亩已在以往年度采捕,致使虚增营业外支出2.4782亿元,占核销金额的 42.91%;减值海域中,2015 年、2016 年底播虾夷贝分别有 6.38 万亩、0.13 万亩已在以往年度采捕,致使虚增资产减值损失 1110.52 万元,占减值金额的 18.29%。
证监会认为,獐子岛公司2016年和2017年实际采捕面积与账面数据不符,公司当初发布的年终盘点公告和核销公告均涉嫌虚假记载。
前述知情人士称,这就是寅吃卯粮,2016年把扇贝先采了,成本却记在2017年。实际上,公司2017年所指的扇贝“饿死”区域,部分在前一两年已经采捕过了,到了2017年没了,就说是饿死了。
证监会下发的《行政处罚及市场禁入事先告知书》显示,獐子岛公司2016 年真实采捕区域较账面多 13.93 万亩,致使账面虚减营业成本 6002.99 万元,加上虚减营业外支出,獐子岛虚增利润 1.3115亿元,而当年其披露2016年盈利7571.45万元,追溯调整后獐子岛净利润为-5543.31 万元,业绩由盈转亏。
事先告知书显示,獐子岛公司 2017 年账面记载采捕面积较真实情况多5.79 万亩。经比对实际采捕区域与账面结转区域,獐子岛存在随意结转的问题,且存在将部分2016年实际采捕海域调至2017年度结转成本的情况,致使2017年度虚增营业成本 6159.03 万元。
受虚增营业成本、虚增营业外支出和虚增资产减值损失影响,獐子岛公司 2017 年年度报告虚减利润 2.7865.09亿元,占当期披露利润总额的38.57%,追溯调整后,业绩仍为亏损。
有接近獐子岛公司高管人士对新京报记者表示:“2017年那次,扇贝是有死亡的现象,但(实际情况)并不严重,其他岛的情况都没有獐子岛公司严重。”
“夕阳”中的獐子岛
停产、“转型”、违规采捕
上市公司獐子岛曾经让岛民感到自豪,高峰时期岛上70%的人都在獐子岛公司工作,公司的快速发展让他们提前富裕起来。如今,这份烙着父辈印记的上市公司獐子岛(002069.SZ)让很多岛民失望了。
獐子岛底播虾夷扇贝面积曾保持高速增长。数据显示,2006年上市首年,公司已确权的海域使用权为65.63万亩,其中规划用于底播增殖的面积为64.89万亩;2010年,獐子岛公司底播虾夷扇贝投苗面积增长至120余万亩;2014年,獐子岛公司底播虾夷扇贝确权底播面积已达约340万亩;2017年虾夷扇贝底播区面积减少至234 万亩。
从“跑”到“死”,扇贝存货异常频发,“海底银行”变成了“不毛之地”,獐子岛已停止了所有底播虾夷扇贝的播苗,仅保留小量做实验用。
“每一艘捕捞船配备的员工减少了,现在5-6人,以前7个人。而且有一部分捞扇贝的人,调动到海螺船,现在以海螺为主了。以前最多一天动用三条装扇贝的运输船,现在基本是两天一趟。公司去年卖了一条运输船,目前只剩下两条运输船了。”某獐子岛公司捕捞船员工表示,工资也有下降,以船长为例,2014年前,船长一年就能赚11万元,几年后的现在收入不升反降,目前只有9万元左右了。
与此同时,獐子岛公司的育苗业务也在“冷水团”事件后急剧萎缩。上世纪80年代末、90年代初,獐子岛公司相继成立了育苗一厂、二厂和三厂,员工最多时均有一百多人,而在2014年“冷水团”事件后,逐渐停止了育苗的业务。
近期新京报记者相继走访了獐子岛公司的育苗一厂、育苗二厂和海珍品原良种厂。
岛民向记者介绍:“这(左图)便是以前的育苗一厂,现在已经不做了,好像改为暂养室了。”
“一厂二厂是2018年停产的,三厂是2016年停产的,出苗最好的时候,每年能有十几亿枚。”一位曾在育苗厂工作的员工说,“现在还剩良种场在运行,员工从最鼎盛的一百多人,只剩下十几人。”一个育苗厂的员工对记者表示。
注:左图为育苗一厂,右图为育苗二厂 新京报贝壳财经肖玮摄
注:良种厂门前与生产车间内部 新京报贝壳财经肖玮摄
潜水员岳华对记者讲述了獐子岛最近在禁渔期期间所进行的违规采捕行为,其表示,近些天,潜水船的卫星导航都被拆了,据他分析,拆除卫星导航是为了躲开渔业监管部门。“这里休渔期是5月1号到9月1号。这段时间野生的海参和海螺都不能采捕。大雾天和六级风以上都不让作业,但(现在)这种情况下出海是常事,没有卫星导航肯定是有危险的。”
獐子岛公司某管理岗位员工也同样表示:“全部潜水船和部分捕捞船近期都拆了卫星导航。休渔期禁止捕捞的海产品大概有海参、海螺、黄海胆等。”上述管理岗位员工进一步向新京报记者表示,海螺船也已经拆掉导航,现在公司用潜水船、笼钓船,甚至部分拉扇贝的船在采捕海螺。
“钓海螺船现在天天出去钓海螺”,作为采捕海螺的参与者,岳华告诉记者:“现在以清理底害作为理由,其实就是捡(采捕)海螺。”
无处安放的生计:
养老金停发,年轻人外出谋生
“岛上居民很多都是依靠公司来生活的,最高峰的时候岛上70%的人都在獐子岛公司工作。而现在岛上年轻人越来越少了,很多都到外面打工了。”一位岛民告诉新京报记者,上市公司的效益越来越差,而岛民的生活补贴和股份分红均已停止。
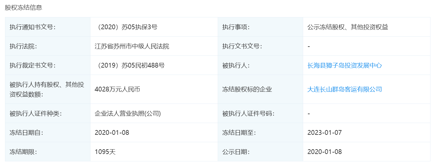
与此同时,与上市公司獐子岛命运相连的獐子岛镇政府,也陷入了资金紧张的境地,其控股的长海县獐子岛投资发展中心所持有的部分上市公司及客运公司股份已被冻结,当地老人今年一季度的退休金也无法按期发放。
从上世纪50年代开始,獐子岛开始相继进行互助组、初级社、高级社等形式的社会主义经济改造,岛民用现金、船网等入股集体经济。
1956年,獐子岛本岛、大耗子村、小耗子村和褡裢村分别成立一个高级渔业生产合作社,《獐子岛镇志》记载,1956年,4个高级社拥有固定资产总值66.8万元。资金来源互助组、初级社转入的公共积累9.8万元,占14.7%;初级社、互助组社员船网和现金入股的股金46.2万元,占6.4%;应付银行贷款6.5万元,占9.7%。
当时,高级社可以从社员吸收公有化股份基金,159户船网户和884名社员累计缴纳公有化股金16.7万元。而这笔股金,也被许多獐子岛人看作是父辈创业的原始投资,一直积累至今天的上市公司獐子岛。
2001年4月,獐子岛公司完成股份制改革,并于2006年登陆A股市场上市交易,而当年的四个高级社也继续以长海县獐子岛投资发展中心、长海县獐子岛褡裢经济发展中心、长海县獐子岛小耗经济发展中心和长海县獐子岛大耗经济发展中心的形式对公司持股,提醒人们上世纪50年代那辈人的付出。
注:獐子岛岛民石毅提供的本子 新京报贝壳财经记者摄
“公司改制后,断断续续有发过股钱和生活补贴,其中生活补贴的发放分三类人群,分别是六十岁以下的、六十岁到七十岁的和七十岁以上的,年纪越大,收到的钱会多一千元左右,以六十岁以下为例,在2012年至2017年间,每人每年发了1000元-3000元。”獐子岛岛民石毅对新京报记者表示,但近两年已经没有发放生活补贴了,而每年几百到两千元不等的股份分红也于2014年停止发放。
獐子岛公司与獐子岛镇政府的关系紧密,这不仅可见于历史渊源,而且可见于獐子岛上市后双方的一些关联。
大连獐子岛耕海房地产开发有限公司成立于2007年12月19日,实缴资本1亿元,其在大连开发有国民院子等楼盘,早期由獐子岛公司控股。2010年12月,獐子岛公司退出,由獐子岛镇政府控股的长海县獐子岛投资发展中心实施控股,法定代表人也由王欣红变更为时任獐子岛镇党委书记石敬信。
今年4月,源于股权质押爆雷,长海县獐子岛投资发展中心所持有的5879.99万股獐子岛公司股份被冻结。其一共持有獐子岛21876.88万股,占公司总股本的30.7643%,是公司的控股股东,其中处于质押状态的股份累计数为21875.99万股,占其所持公司股份的99.9959%。
更早之前,长海县獐子岛投资发展中心控股的大连长山群岛客运有限公司的大部分股份于今年1月遭到冻结。
注:截图自企查查
獐子岛公司业绩下滑对獐子岛镇财政的影响显而易见,据多位獐子岛老人对新京报记者表示,除已经停发的生活补贴和股权分红外,一直发放的退休金,今年一季度也未能如期发放。
新京报记者 肖玮 李云琦 编辑 岳彩周 校对 李世辉
记者联系邮箱:xiaowei@xjbnews.com
相关问答
填写成语写出带有东、南、西、北这些字的成语(每个成语四个字...[回答]东成西就、南辕北辙、东南西北、北西南东、东施效颦东窗事发东鳞西爪东山再起南辕北辙南柯一梦拆东补西南辕北辙西方净土北窗之友北门...
2015年立秋时间是哪一天?几月几日几点立秋? - 红网问答到了立秋,梧桐树开始落叶,因此有“落一叶而知秋”的成语。立秋时,北斗指向西南。太阳黄经为135°。从这一天起秋天开始,秋高气爽,月明风清。此后,...
含有“星”字的词语最好系一样物体,例如:星星,五星红旗,卜卜...[回答]火星星座星光大道金星土星木星水星火星天王星海王星冥王星北斗七星北极星星苹果乐园好记星木兰星星辰变星尊星空星光星象星云星体星座明星星光灿...
家庭用血压仪准吗?这家用血压仪要怎么选呢?血压仪主要就是这两种一、水银血压仪水银血压仪历史悠久,是血压仪中的泰山北斗,“老爷爷”啦!用它测血压,就一个字:准。但缺...“...
今年立秋是几月几日?2022立秋是2022年8月7日,14:53:48,农历七月(小)初十,星期日。立秋简介立秋,是二十四节气中的第13个节气,每年8月8日或9日立秋。北斗指向西南。太阳黄经为1...
立秋时间2022几点几分?2022年立秋是8月7号20点28分57秒,也就是晚上快八点半进入立秋,届时表示暑去凉来,秋天开始之意,1.2022年立秋公历具体时间:2022年8月7号20点28分57秒。2.20...
反卫星有哪些招数?中国一共进行了7次反卫星试验,首次试验是在2007年1月11日,中国在西昌卫星发射中心发射了一枚开拓者1号火箭,火箭携带着KKV动能拦截弹头,以卫星轨道反方向的8...
今年立秋几月几号几点几分?今年立秋是2021年8月7日,14:53:48。立秋,是二十四节气中第13个节气,于每年公历8月7-9日交节。此时,北斗七星的斗柄指向西南,太阳到达黄经135°。立秋是秋季...
西昌卫星发射中心用“长征三号甲”运载火箭,将第五颗 北斗 ...[最佳回答]小题1:B小题2:C本题考查时间问题的计算。小题1:卫星发射时为北京时间8月1日5时30分,飞行时间为6小时,故到达的北京时间为8月1日11时30分,而华盛顿...
2023入秋是什么时间?8月8号,所谓入秋就是以立秋节气为标志开始进入秋天。具体时间是2点14分。人们俗语说,立秋把扇丢,意思是天气将渐渐变凉。秋天开始一直到中秋,给人感觉是舒适...
相关文章
-
别只会聊闲篇了!2026年AI代理开源“手替”大乱炖,到底哪个真能替你干活?详细阅读
哎,咱就是说,这年头要是你手机里还没装俩AI软件,出门都不好意思跟人打招呼。但从去年年底到这会儿2026年开春,不知道大伙儿发现没,风向彻底变了。以前...
2026-04-16 0
-
别只会聊闲天了!2026年让AI替你“动手”干活,才是真省心详细阅读
哎,不知道大伙儿有没有这种感觉?这两年AI是挺火,但说句掏心窝子的话,除了让它写个周报、编个段子,或者帮我憋一篇狗屁不通的论文摘要,好像也没啥大用。直...
2026-04-16 0
-
别再花那冤枉钱!河北家长亲测AI作业机,是“印钞机”还是“智商税”?详细阅读
哎,说起给孩子辅导作业这事儿,咱们河北的家长那真是一把鼻涕一把泪。就拿我来说吧,石家庄的,家里那小子今年上四年级,以前一到晚上,我家那动静大的,邻居都...
2026-04-16 3
-
别再花那个冤枉钱!手把手教你咋个自己动手“如何代理ai服务器”(保姆级教程)详细阅读
哎哟喂,大家吼啊! 这几天是不是被那个叫 OpenClaw 的“小龙虾”给刷屏了?我跟你们讲,这玩意儿现在火得是一塌糊涂,GitHub 上星星都快要...
2026-04-16 3
-
别傻傻打工了!我那个发小靠“AI小程序代理”在老家买了房,这才是真香!详细阅读
大家好啊,我是老张。今天咱不扯那些虚头巴脑的大道理,就想跟大伙儿掏心窝子聊聊赚钱这事儿。尤其是现在这大环境,你说出去找个工作吧,动不动就“优化”,干点...
2026-04-15 9
-
别傻乎乎自己动手了!2026年这些“AI桌面代理神器”才是真正的牛马详细阅读
哎呦喂,兄弟萌,不知道你们有没有这种感觉——每天一坐到电脑前,就跟上战场似的。 我这人吧,是个自媒体小写手,平时除了码字还得搜集各种素材、整理数据、...
2026-04-15 8
-
从抗拒到真香:我为什么辞了工作去做咪鼠AI鼠标代理?这事儿靠谱吗?详细阅读
大家好啊,我是个在电脑前蹲了十几年的老运营,俗称“网瘾中年”。前段时间发了个朋友圈,说我把干了五年的工作给辞了,跑去搞什么AI鼠标代理,评论区直接炸了...
2026-04-15 9
-
从抓瞎到真香:我的AI代理编辑教程踩坑日记,专治各种“搞不定”详细阅读
哎,说实话啊,在没搞懂AI代理编辑教程之前,我觉得这玩意儿就是个智商税。去年我还是个纯纯的“人工智障”受害者——每天花俩小时跟ChatGPT来回bat...
2026-04-15 9

最新评论